样品
成果详情
| 项目简介 | |||||
|---|---|---|---|---|---|
| 技术简介: | |||||
| 专利类型: | 实用新型 | 专利申请号: | CN201920147313.8 | 公开号: | CN209864922U |
| 专利权人: | 南方医科大学南方医院 | 发明设计人: | 张广清;许波 | ||
| 所属领域: | |||||
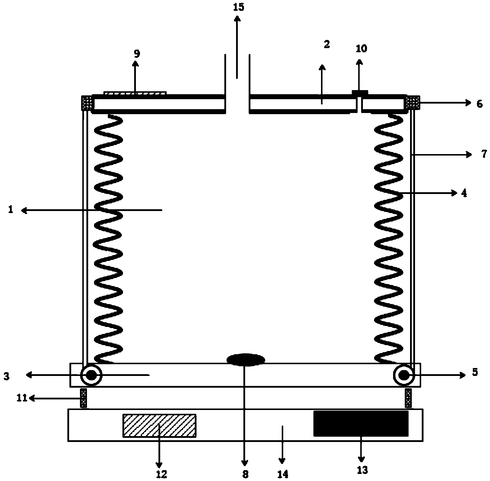
| 摘要: | 本实用新型涉及一种显示吸氧浓度的装置。该装置包括氧气储存器,为由顶板、底板、侧壁围成的长方体;氧气输送管,连接在氧气储存器的开口处;动力装置,由内部具有电动机的卷轮与皮带组成;卷轮位于氧气储存器的底板的两端;拉力传感器,被设置在氧气储存器的顶板上,与动力装置的皮带相连,用于测量皮带对顶板拉力;底座,位于氧气储存器的下方,其上装有信号处理器和电源;重力感应器,被设置在氧气储存器与底座之间,用于感应氧气储存器的重力并将信号发送到信号处理器;显示器,位于氧气储存器的上方,用于显示来自信号处理器的信息;温度感应器,被设置于氧气储存器内,用于感应氧气储存器内氧气的温度并发送到信号处理器。 | ||||
| 补充信息 | |||||
| 转让方式: | 成熟度: | 预估价值: | |||
| 市场前景: | |||||