样品
成果详情
| 项目简介 | |||||
|---|---|---|---|---|---|
| 技术简介: | |||||
| 专利类型: | 实用新型 | 专利申请号: | CN201920848563.4 | 公开号: | CN210063052U |
| 专利权人: | 南方医科大学南方医院 | 发明设计人: | 黄榕;谢一色;彭阳;黄少慧;蔡丽红;郭萍 | ||
| 所属领域: | |||||
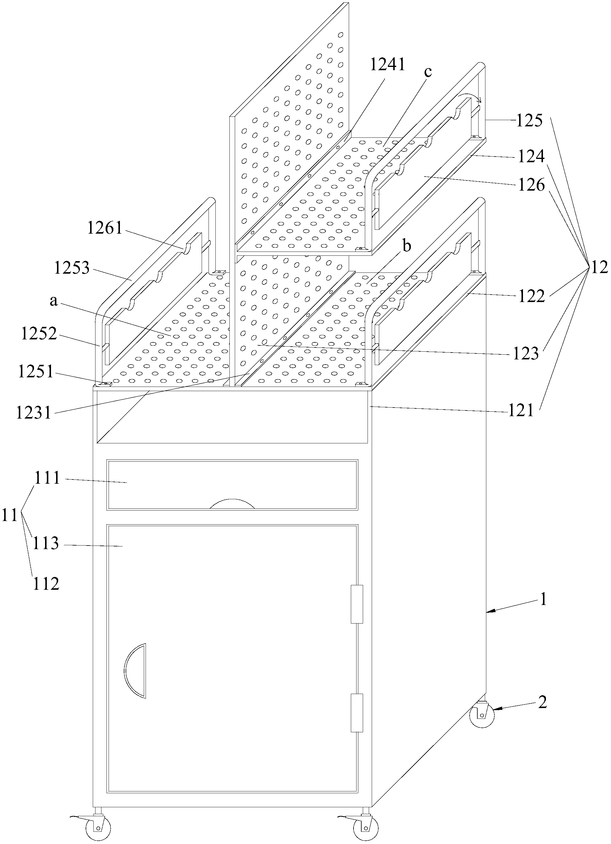
| 摘要: | 本实用新型公开了一种移动式监护仪、微量泵推车,其推车主体的下部为床头柜体式结构,上部为平台式结构,平台式结构包括垂直连接在床头柜体式结构顶面左右两侧的两个侧竖板,两个侧竖板的上端通过一横板一连接,横板一的中间通过一中间竖板分隔为位于左侧的监护仪放置区和位于右侧的微量泵放置区一,中间竖板的中部右侧连接有横板二,横板二的上侧为微量泵放置区二,监护仪放置区的左侧、微量泵放置区一的右侧和微量泵放置区二的右侧均有分别与横板一左侧、横板一右侧、横板二右侧连接的侧挡栏,各侧挡栏内铰接安装有可翻转板,各可翻转板的上侧边缘开有多个过线槽。本实用新型的移动式监护仪、微量泵推车方便了临床医护工作者以及患者。 | ||||
| 补充信息 | |||||
| 转让方式: | 成熟度: | 预估价值: | |||
| 市场前景: | |||||