样品
成果详情
| 项目简介 | |||||
|---|---|---|---|---|---|
| 技术简介: | |||||
| 专利类型: | 实用新型 | 专利申请号: | CN202420786389.6 | 公开号: | CN222399885U |
| 专利权人: | 南方医科大学珠江医院 | 发明设计人: | 王玉珊;付晓华 | ||
| 所属领域: | |||||
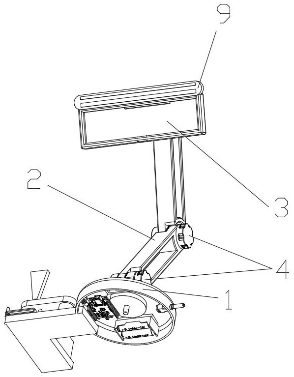
| 摘要: | 一种血管穿刺疼痛缓解装置,包括底座、调节臂和血管显像仪,其特征在于,所述底座与调节臂的一端连接,调节臂的另一端与血管显像仪连接,血管显像仪位于底座的上方;所述调节臂设有用于锁紧角度的调节旋钮;所述底座上设有药贴收纳槽、药膏挤出平台和刮板;所述药膏收纳槽设置引导板延伸至刮板处,且引导板位于药膏挤出平台的下方;药膏挤出平台设有三个挤出口和一个挤入口;所述挤入口与挤出口之间连通,且挤入口的上方接入药膏,药膏为利多卡因乳膏;所述血管显像仪上安装有加热板;该装置能有效提高血管穿刺效率以及缓解患者的疼痛感。 | ||||
| 补充信息 | |||||
| 转让方式: | 成熟度: | 预估价值: | |||
| 市场前景: | |||||