样品
成果详情
| 项目简介 | |||||
|---|---|---|---|---|---|
| 技术简介: | |||||
| 专利类型: | 实用新型 | 专利申请号: | CN202321720351.0 | 公开号: | CN220632366U |
| 专利权人: | 南方医科大学南方医院 | 发明设计人: | 丁红;魏彦;梁钥;范子博 | ||
| 所属领域: | |||||
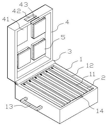
| 摘要: | 本实用新型涉及儿童插管领域,尤其涉及一种引导式儿童气管插管急救箱,该急救箱可以对多种气管插管和药物进行分类规整,且可对医护人员进行引导,有效解决背景技术中提出的问题。包括箱体,箱体中设有若干竖向的隔板,将箱体分隔为若干左右排列的储物格,储物格中分别储放有急救包;箱体外端部通过铰接轴连接上盖,所述上盖左上侧固定设有侧开口的第一盒体,所述第一盒体中插置有引导卡;上盖除第一盒体之外的空间可拆卸设有盒装儿童喉镜;箱体内端部上沿嵌有第一磁块,上盖上端部外沿嵌有与第一磁块吸引配合的第二磁块。它操作简单,使用方便,适用于多个年龄段的儿童。 | ||||
| 补充信息 | |||||
| 转让方式: | 成熟度: | 预估价值: | |||
| 市场前景: | |||||