样品
成果详情
| 项目简介 | |||||
|---|---|---|---|---|---|
| 技术简介: | |||||
| 专利类型: | 实用新型 | 专利申请号: | CN202322419794.2 | 公开号: | CN221579250U |
| 专利权人: | 南方医科大学深圳医院 | 发明设计人: | 李敏 | ||
| 所属领域: | |||||
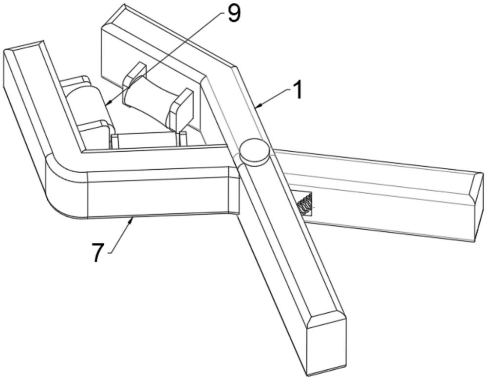
| 摘要: | 本实用新型公开了一种输液管排气装置,涉及医疗设备技术领域,包括第一夹体以及开设于第一夹体一侧外表面的弹簧槽,所述弹簧槽的一侧内表面固定连接有第一弹簧,所述第一弹簧的一端固定连接有滑板,所述滑板的一侧外表面固定连接有第一辊架,所述第一辊架的内表面转动连接有第一辅助辊,所述第一夹体的内表面转动连接有第二夹体。该输液管排气装置,与现有的普通输液管排气装置相比,该输液管排气装置使用时,可将第一夹体和第二夹体夹在输液管上,滑板可在弹簧槽内部滑动,弹簧槽内部的第一弹簧可被压缩以适应不同尺寸的输液管,且第一辅助辊采用内弧型设计,可更好的贴合输液管的外壁,此设计方便夹持不同尺寸的输液管,以对其滚动排气。 | ||||
| 补充信息 | |||||
| 转让方式: | 成熟度: | 预估价值: | |||
| 市场前景: | |||||