样品
成果详情
| 项目简介 | |||||
|---|---|---|---|---|---|
| 技术简介: | |||||
| 专利类型: | 实用新型 | 专利申请号: | CN202021265416.3 | 公开号: | CN213218678U |
| 专利权人: | 南方医科大学南方医院 | 发明设计人: | 廖冬梅 | ||
| 所属领域: | |||||
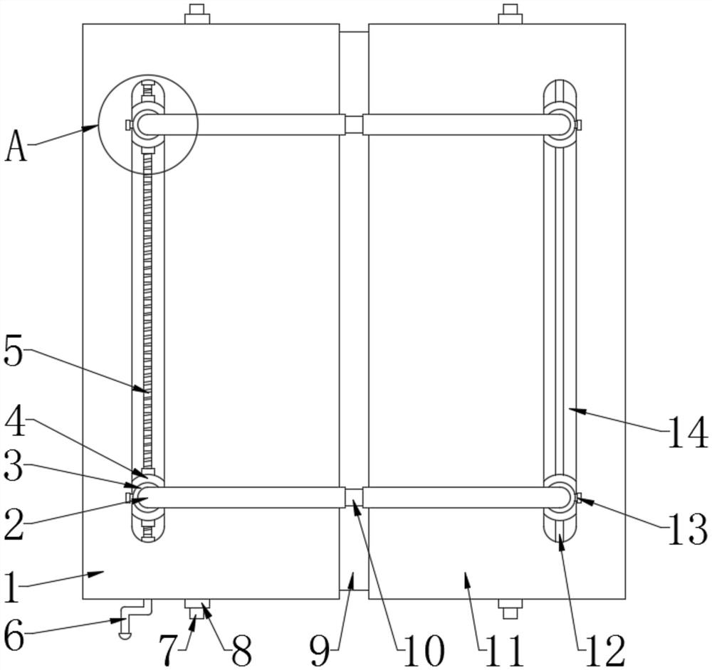
| 摘要: | 本实用新型属于医疗辅助器械技术领域,尤其为一种眼科手术消毒单支架,包括第一承载板,所述第一承载板的内部开设有第二滑槽,所述第二滑槽的内部滑动连接有第一螺纹柱,所述第一螺纹柱的一端固定连接有活动板,所述活动板的表面滑动连接有第二承载板,所述第一承载板的内部固定连接有轴承,所述轴承的内部套接有转轴;本实用新型,通过设置活动板、伸缩杆、第二螺纹柱与螺母,可对本装置的宽度进行调节,从而使本装置适用于头部大小不同的患者,从而提高本装置的实用性,通过设置套环,在实际的应用中,可对呼吸管道进行限位固定,从而避免患者在手术过程中的呼吸管道脱落造成患者呼吸不畅或者二次伤害的情况。 | ||||
| 补充信息 | |||||
| 转让方式: | 成熟度: | 预估价值: | |||
| 市场前景: | |||||