样品
成果详情
| 项目简介 | |||||
|---|---|---|---|---|---|
| 技术简介: | |||||
| 专利类型: | 实用新型 | 专利申请号: | CN202421257513.6 | 公开号: | CN222640852U |
| 专利权人: | 南方医科大学深圳医院 | 发明设计人: | 姚君妍;蔡文智;张军花;郭勇 | ||
| 所属领域: | |||||
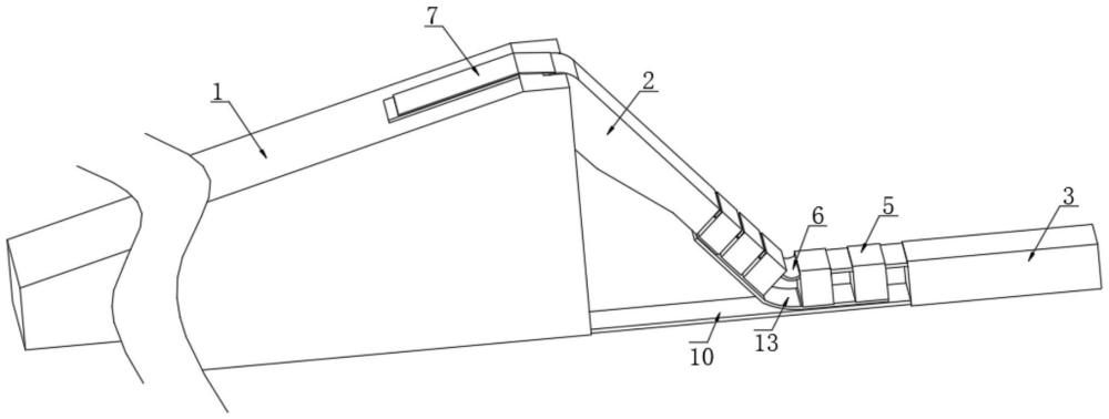
| 摘要: | 本实用新型涉及一种乳癌手术体位垫,包括背部体位垫以及手臂体位垫,所述手臂体位垫由上臂支撑垫、衔接垫以及小臂支撑垫构成,背部体位垫的上表面开设有供上臂支撑垫放置的凹槽,上臂支撑垫以及小臂支撑垫的表面分别设置有可与背部体位垫装配为一体的第一装配组件和第二装配组件。本实用新型通过设置手臂体位垫,利用第一装配组件将上臂支撑垫与背部体位垫装配为一体后,此时上臂支撑垫与背部体位垫之间呈倾斜式,接着利用第二装配组件将小臂支撑垫与背部体位垫装配为一体,当患者躺在背部体位垫后,患者的上臂放入上臂支撑垫上,由于上臂支撑垫与背部体位垫之间设计有斜坡,因此上臂摆放后不会有个断崖式落差,从而可使病人体位更舒适。 | ||||
| 补充信息 | |||||
| 转让方式: | 成熟度: | 预估价值: | |||
| 市场前景: | |||||