样品
成果详情
| 项目简介 | |||||
|---|---|---|---|---|---|
| 技术简介: | |||||
| 专利类型: | 实用新型 | 专利申请号: | CN201921137666.6 | 公开号: | CN210631426U |
| 专利权人: | 南方医科大学南方医院 | 发明设计人: | 郭亚云;黄榕;刘映晨;陈宝梅;范嘉仪;龙娟 | ||
| 所属领域: | |||||
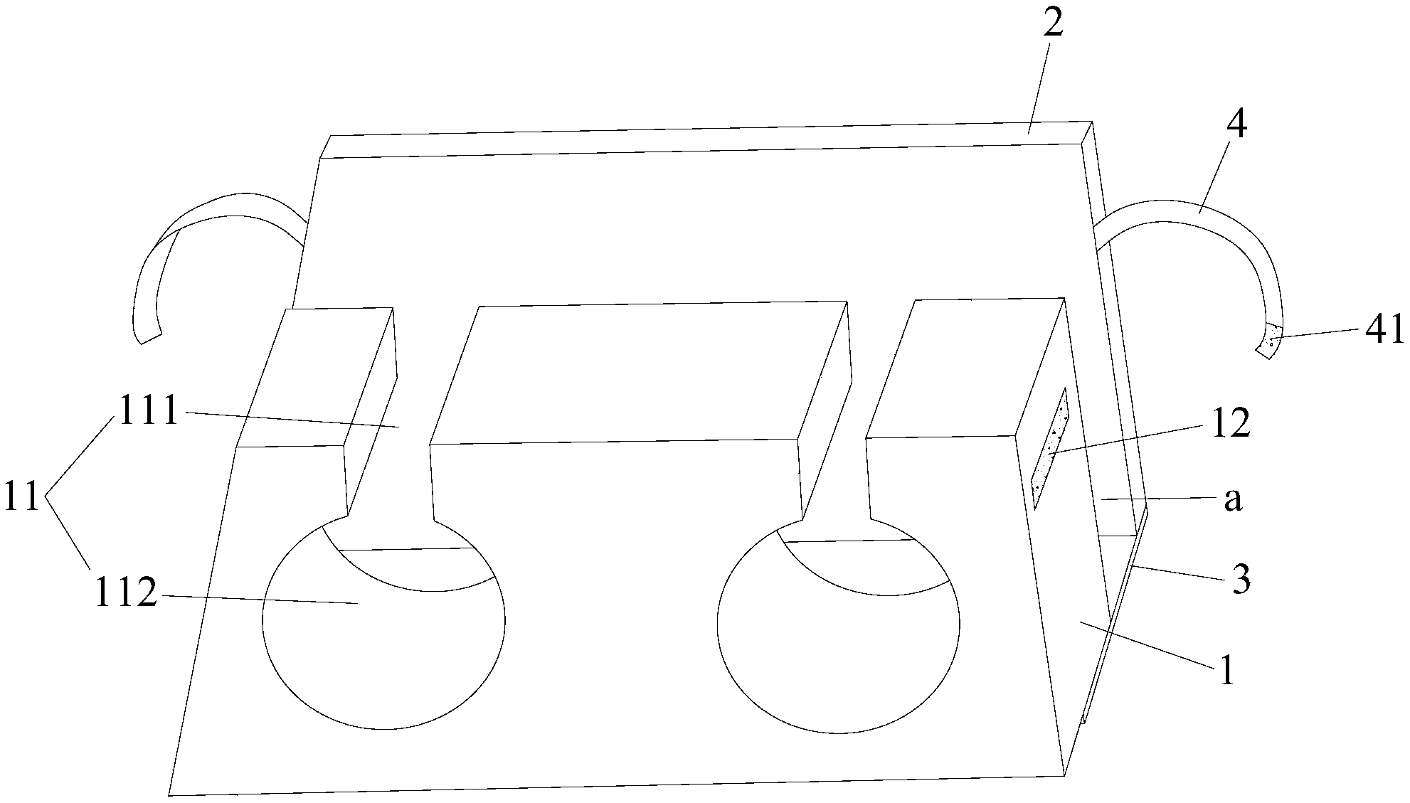
| 摘要: | 本实用新型公开了一种防足跟压疮垫,包括腿部抬高垫和脚踏板,腿部抬高垫与脚踏板之间有足跟悬置凹槽,所述腿部抬高垫的顶面凹陷形成两个并排的小腿放置凹槽,两个小腿放置凹槽贯通腿部抬高垫的前后侧,脚踏板位于腿部抬高垫的前侧并且与腿部抬高垫平行,脚踏板的下端与腿部抬高垫的下端之间通过弹性带一固定连接,脚踏板、腿部抬高垫和弹性带一之间构成所述足跟悬置凹槽,脚踏板的左右侧上部和腿部抬高垫的左右侧上部均分别通过弹性带二可拆卸连接。本实用新型的防足跟压疮垫解决了腿部抬高垫在患者脚活动时容易跑偏并与足部脱离的问题,能有效防止足跟压疮和足部下垂。 | ||||
| 补充信息 | |||||
| 转让方式: | 成熟度: | 预估价值: | |||
| 市场前景: | |||||