样品
成果详情
| 项目简介 | |||||
|---|---|---|---|---|---|
| 技术简介: | |||||
| 专利类型: | 实用新型 | 专利申请号: | CN202322239049.X | 公开号: | CN221331201U |
| 专利权人: | 南方医科大学南方医院 | 发明设计人: | 杨素;韩聪聪 | ||
| 所属领域: | |||||
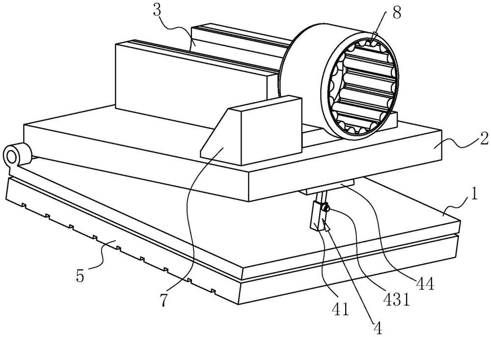
| 摘要: | 本申请公开了一种采血辅助装置,其包括平撑板、与平撑板铰接的斜撑板和安装于斜撑板的顶部的采血垫层;平撑板与斜撑板之间设置有可调节安装高度的升降组件;平撑板的底部还转动连接有旋转底板和用于将旋转底板限位在平撑板的底部的限位件。本申请具有提高了整个采血辅助装置的适用性,方便医护人员进行采血工作的效果。 | ||||
| 补充信息 | |||||
| 转让方式: | 成熟度: | 预估价值: | |||
| 市场前景: | |||||