样品
成果详情
| 项目简介 | |||||
|---|---|---|---|---|---|
| 技术简介: | |||||
| 专利类型: | 实用新型 | 专利申请号: | CN202221929685.4 | 公开号: | CN218305974U |
| 专利权人: | 南方医科大学珠江医院 | 发明设计人: | 凌玲;李菀丹 | ||
| 所属领域: | |||||
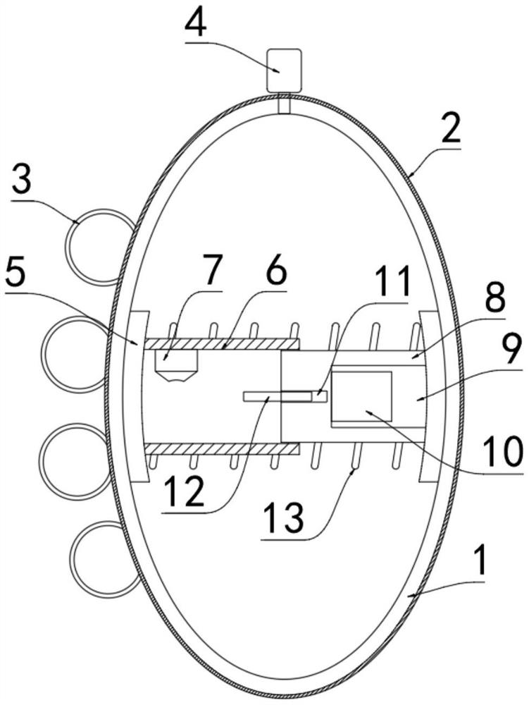
| 摘要: | 本实用新型公开了一种PICC置管训练用握力球,包括橡胶握力球,所述橡胶握力球上设有开口,所述橡胶握力球的内壁安装有两个安装块,两个所述安装块相对的一面分别固定连接有C型块和导向块,所述导向块位于C型块内并滑动连接,两个所述安装块之间安装有弹簧,所述C型块的内壁安装有红外线计数器,所述导向块上安装有挡板,所述挡板与导向块之间设有调节机构,所述橡胶握力球的上端安装有与红外线计数器相连接的显示屏。本实用新型可以显示病人握了握力球的次数,病人不易偷懒,提高病人的依从性,有利于预防血塞锻炼,同时,可以调节握力球握力压力,以适用不同情况的病人需求,操作简单便捷。 | ||||
| 补充信息 | |||||
| 转让方式: | 成熟度: | 预估价值: | |||
| 市场前景: | |||||