样品
成果详情
| 项目简介 | |||||
|---|---|---|---|---|---|
| 技术简介: | |||||
| 专利类型: | 实用新型 | 专利申请号: | CN202023220880.3 | 公开号: | CN213632373U | 
| 专利权人: | 南方医科大学南方医院 | 发明设计人: | 李笑银;包良笑;李秋红;李婧;陈昊 | ||
| 所属领域: | |||||
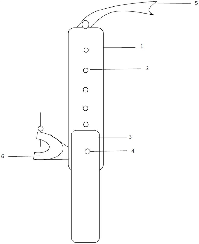
| 摘要: | 本实用新型涉及一种用于医用体重秤的可调式伸缩杆。本实用新型所述的用于医用体重秤的可调式伸缩杆包括:细长的圆管状的外管体,其下端部可拆卸地固定在医用体重秤上;所述外管体的表面相隔一定距离开设若干个调节孔;细长的圆管状的内杆体,滑动嵌套于所述外管体内部,所述内杆体上设有弹珠,所述弹珠的尺寸配合于所述调节孔;以及空心的扶手,嵌套在所述外管体的上端部,能拉出形成弧形的扶手。本实用新型所述的用于医用体重秤的可调式伸缩杆既减少了患者因行动不便带来的痛苦,轻松方便为患者测量体重,又解决了医护人员在为患者称重时反复下蹲或弯腰带来的职业病,减少了肌肉损伤,提高了工作效率。 | ||||
| 补充信息 | |||||
| 转让方式: | 成熟度: | 预估价值: | |||
| 市场前景: | |||||