样品
成果详情
| 项目简介 | |||||
|---|---|---|---|---|---|
| 技术简介: | |||||
| 专利类型: | 实用新型 | 专利申请号: | CN202022363397.4 | 公开号: | CN213488846U |
| 专利权人: | 南方医科大学南方医院 | 发明设计人: | 林晓萍;陈辉;周海平;陈文癸;彭鑫;邬园园;刘会情;刘主梁;邓金连;杨芳芳 | ||
| 所属领域: | |||||
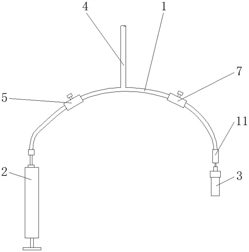
| 摘要: | 本实用新型公开了一种基于动脉置管的采血装置。一种基于动脉置管的采血装置,包括采血管,其中,在所述采血管的一端连接有注射器,在所述采血管的另一端设有连接头,所述连接头与一取样瓶连接,在所述采血管的中部设有能够与外设动脉置管连接的连接管,在靠近所述注射器一端的采血管上设有第一开关,在靠近所述连接头一端的采血管上设有第二开关。本实用新型一种基于动脉置管的采血装置,操作简单并且能够避免血液污染和保护医护人员。 | ||||
| 补充信息 | |||||
| 转让方式: | 成熟度: | 预估价值: | |||
| 市场前景: | |||||