样品
成果详情
| 项目简介 | |||||
|---|---|---|---|---|---|
| 技术简介: | |||||
| 专利类型: | 发明 | 专利申请号: | CN202011444691.6 | 公开号: | CN112603438A |
| 专利权人: | 南方医科大学南方医院 | 发明设计人: | 许波;乔惠;许重远;张广清;宿爱山;罗小琴 | ||
| 所属领域: | |||||
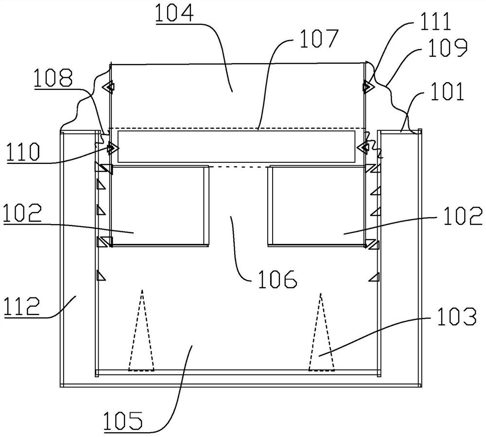
| 摘要: | 本发明公开了一种冷敷的止血组件,止血组件包括外壳、储存装置以及至少一个穿刺部,储存装置可上下移动地安装在外壳中,储存装置的底部与外壳底部之间构成反应腔,反应腔中储存有用于参与制冷反应的固态物质,储存装置中设置有至少一个储存格,储存格中装有用于参与制冷反应的溶液一;穿刺部设置在外壳的底部,穿刺部用于刺破储存格的底部;其中,储存装置的上部设置有缓存腔,缓存腔设置有吸收物质,反应腔通过气流通道与缓存腔连通。按压储存装置,穿刺部将储存格刺破,储存格中的溶液一和反应腔中的固态物质反应制冷,加快止血,防止出现淤血。本发明可广泛应用于医疗器械技术领域。 | ||||
| 补充信息 | |||||
| 转让方式: | 成熟度: | 预估价值: | |||
| 市场前景: | |||||