样品
成果详情
| 项目简介 | |||||
|---|---|---|---|---|---|
| 技术简介: | |||||
| 专利类型: | 实用新型 | 专利申请号: | CN201922405640.1 | 公开号: | CN211704910U |
| 专利权人: | 南方医科大学南方医院 | 发明设计人: | 梁洁;李涛;孙晓兰;郝静文;游杰;何云燕;张萍;殷青霞;李胜龙 | ||
| 所属领域: | |||||
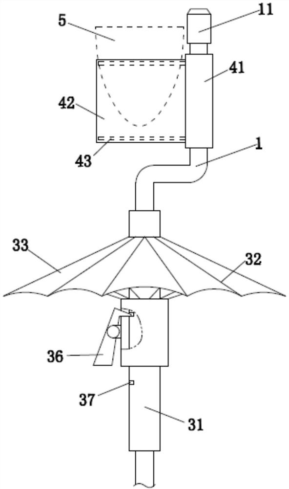
| 摘要: | 本实用新型公开了一种吸唾装置,包括吸唾管,所述吸唾管的一端设有吸唾端口,吸唾管上设有唾液遮挡结构和舌头遮盖结构;所述舌头遮盖结构位于所述吸唾端口与唾液遮挡结构之间。本实用新型提供的吸唾装置,其既能防止唾液溅到吸唾管上部预防职业暴漏,同时又能对患者的舌头起到固定和保护的作用。 | ||||
| 补充信息 | |||||
| 转让方式: | 成熟度: | 预估价值: | |||
| 市场前景: | |||||