样品
成果详情
| 项目简介 | |||||
|---|---|---|---|---|---|
| 技术简介: | |||||
| 专利类型: | 实用新型 | 专利申请号: | CN202420778738.X | 公开号: | CN222444250U |
| 专利权人: | 南方医科大学珠江医院 | 发明设计人: | 彭冬先;武苑;王苹苹;陈洁;黄雪梅;廖琼秀;黄钰婷;王正英;陈楷潮 | ||
| 所属领域: | |||||
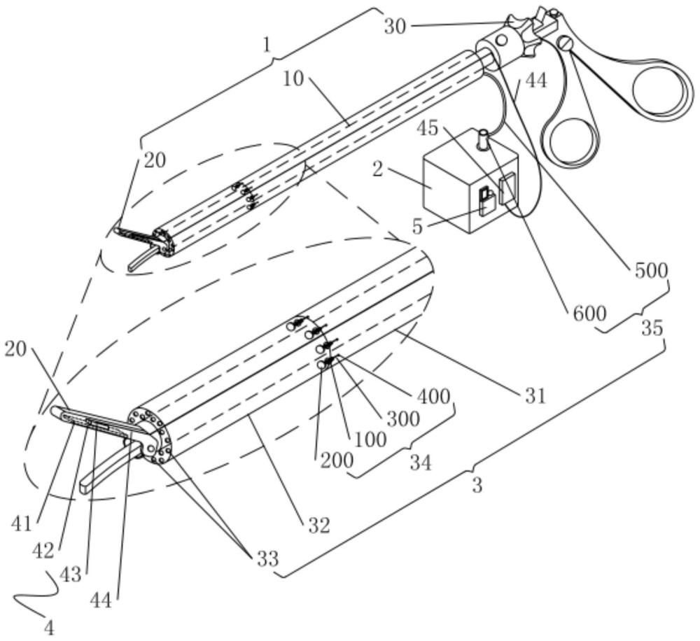
| 摘要: | 本实用新型属于医疗技术领域。本实用新型公开了一种温度监测预警式可喷水腹腔镜钳,包括由钳管、钳头和钳柄构成的腹腔镜钳结构;在所述钳管的外壁上套设有一与外部的带有生理盐水的储水箱连通用于对人体组织进行喷水降温以减少人体组织热损伤的喷水装置;还在所述钳头上嵌设有一用于对人体组织的温度进行监测预警以便于及时启动所述喷水装置工作实施降温作业的温度监测预警装置,其中,所述喷水装置、温度监测预警装置均通过导电线束与一设在所述储水箱外壁上的控制器电连接。本实用新型具有操作省时省力、能够有效监测预警人体组织的温度以便于及时进行降温以减少人体组织热损伤的优点。 | ||||
| 补充信息 | |||||
| 转让方式: | 成熟度: | 预估价值: | |||
| 市场前景: | |||||