样品
成果详情
| 项目简介 | |||||
|---|---|---|---|---|---|
| 技术简介: | |||||
| 专利类型: | 发明 | 专利申请号: | CN201010130359.2 | 公开号: | CN101837152A |
| 专利权人: | 南方医科大学珠江医院 | 发明设计人: | 周焕城;高毅;汪艳;徐小平;潘明新 | ||
| 所属领域: | |||||
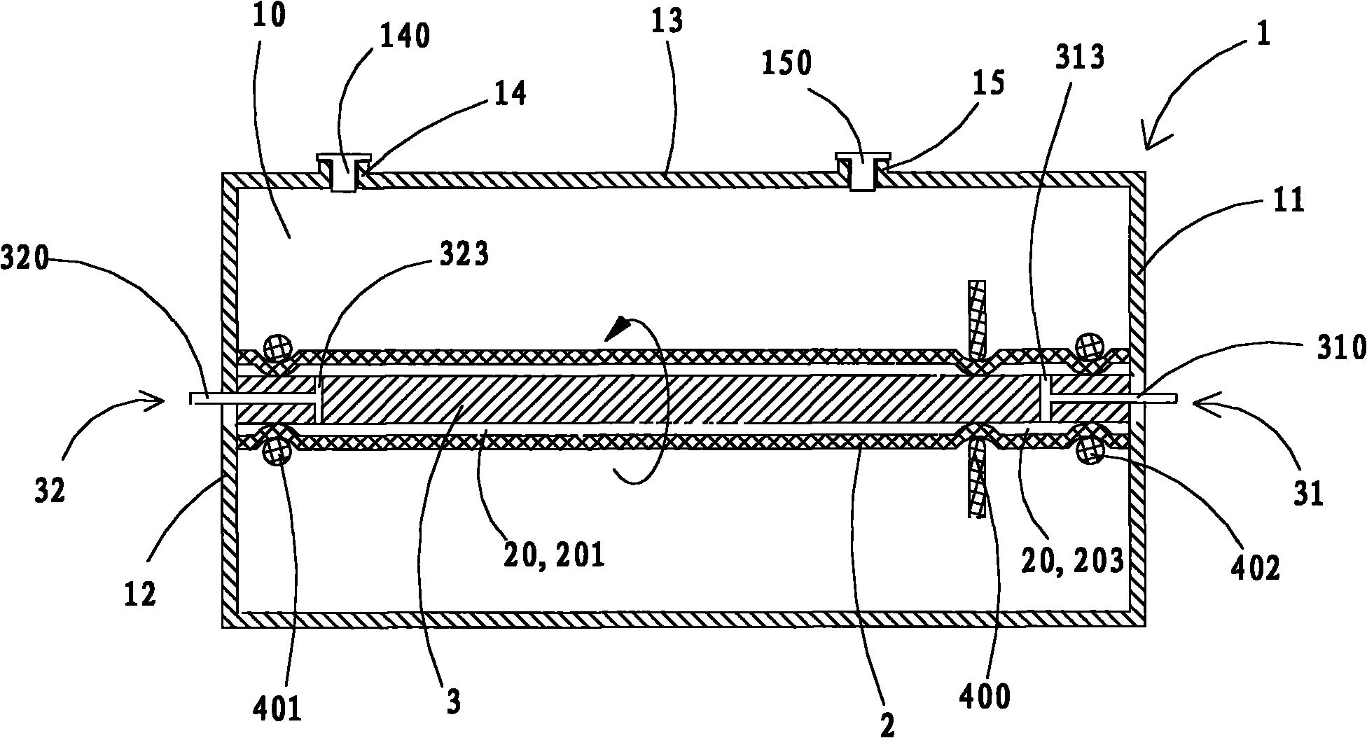
| 摘要: | 本发明公开一种辐射式流向生物反应器及其控制系统和方法,其主要改进在于其中的生物反应器,该生物反应器中,对应于出口通路和入口通路之间的滤膜在其紧邻入口通路处设置结扎件以改变第二流体进入反应室后的流向,该结扎件设有箍紧包覆滤膜的芯轴的轴孔,结扎件的半径占3/10至7/10筒件半径。本发明综合解决了现有的生物反应器存在的灌注不均、死腔、堵塞及交换率低等问题。 | ||||
| 补充信息 | |||||
| 转让方式: | 成熟度: | 预估价值: | |||
| 市场前景: | |||||