样品
成果详情
| 项目简介 | |||||
|---|---|---|---|---|---|
| 技术简介: | |||||
| 专利类型: | 实用新型 | 专利申请号: | CN201820381046.6 | 公开号: | CN208823482U |
| 专利权人: | 南方医科大学珠江医院 | 发明设计人: | 梁苑怡 | ||
| 所属领域: | |||||
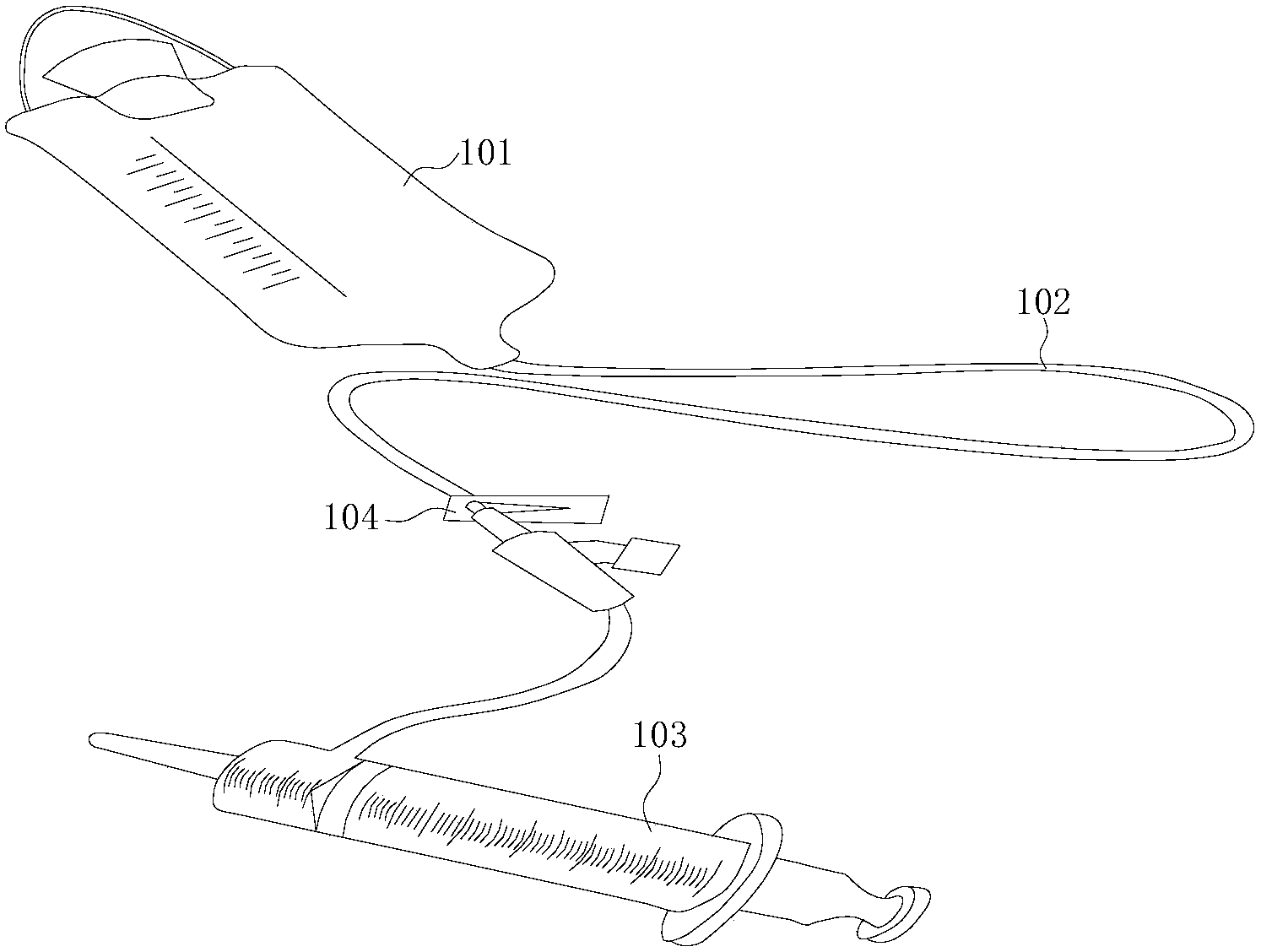
| 摘要: | 本实用新型提供了一种感温灌食器及灌食设备,属于医疗器械领域,包括引流袋、连接管和注射器,注射器包括针筒、活塞杆和活塞,针筒包括空腔、第一开口、第二开口和连接口,且第一开口和第二开口分别位于空腔的两端,第二开口的直径大于第一开口的直径,连接口位于空腔靠近第一开口的一端;活塞沿第一开口和第二开口的连接线方向相对于针筒滑动,活塞杆与活塞连接;活塞采用温感材料制成;连接管的一端通过连接口与针筒连接,连接管的另一端与引流袋连通。本实用新型提供的感温灌食器的活塞采用温感材料制成,从源头上断绝了烫伤病人的可能性,操作方便,且可以解决多次使用后活塞牵拉难的问题。 | ||||
| 补充信息 | |||||
| 转让方式: | 成熟度: | 预估价值: | |||
| 市场前景: | |||||