样品
成果详情
| 项目简介 | |||||
|---|---|---|---|---|---|
| 技术简介: | |||||
| 专利类型: | 实用新型 | 专利申请号: | CN202420207246.5 | 公开号: | CN221451019U |
| 专利权人: | 南方医科大学 | 发明设计人: | 何录杭;陈一铭;胡笑川;赵则名;王思为;陈子尧;张嘉航;李星佐 | ||
| 所属领域: | |||||
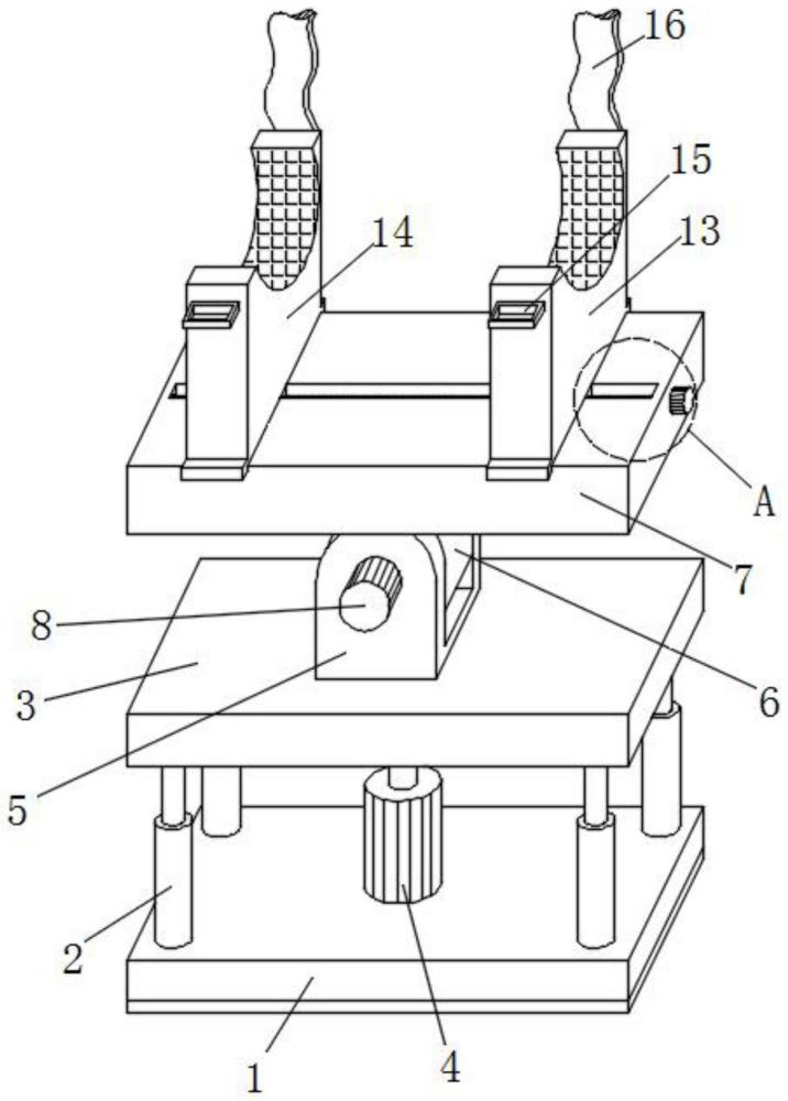
| 摘要: | 本实用新型涉及医疗用具技术领域,公开了一种用于骨科病人腿部的承托机构,包括底座,所述底座的顶部通过液压缸连接有支撑座,所述支撑座的顶部中心位置固定连接有U形安装架,且U形安装架的内侧转动连接有连接座,所述连接座上固定连接有承托座,所述U形安装架的前方固定连接有驱动电机,且驱动电机的输出端与连接座固定连接,所述承托座中部开设有限位滑槽,且限位滑槽的内部转动连接有丝杆,所述承托座的右侧固定连接有伺服电机,且伺服电机输出端与丝杆固定连接,便于更好的对患者腿部进行快速固定,并且可对患者腿部固定的高度和角度进行调节,使得队患者腿部固定使用效果更好。 | ||||
| 补充信息 | |||||
| 转让方式: | 成熟度: | 预估价值: | |||
| 市场前景: | |||||