样品
成果详情
| 项目简介 | |||||
|---|---|---|---|---|---|
| 技术简介: | |||||
| 专利类型: | 发明 | 专利申请号: | CN202211575282.9 | 公开号: | CN115969649A |
| 专利权人: | 南方医科大学南方医院 | 发明设计人: | 丁红;姜妤;刘克玄;王丽梅;林海洁;何利君 | ||
| 所属领域: | |||||
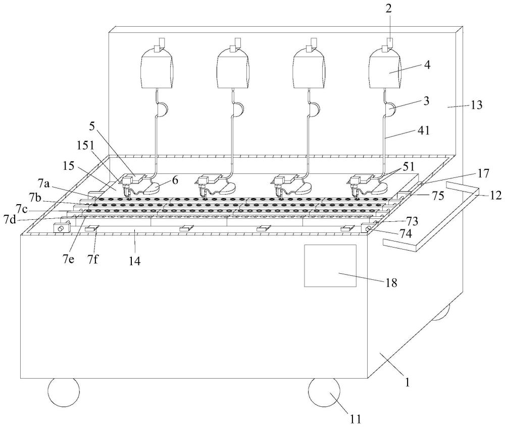
| 摘要: | 本发明公开了一种镇痛泵配置车,包括主体、轮子和竖板,竖板的前侧有横向间隔分布且一一对应的多个悬挂部和多个挤压式输液器一,各悬挂部上悬挂一盐水袋,主体的顶部有横向分布且一一对应的多个夹持装置、多个挤压式输液器二及多个储药袋,各夹持装置处有用于夹持药瓶的多个药瓶夹槽,各盐水袋、储药袋分别连接有分别绕于挤压式输液器一、挤压式输液器二处的连接管一、连接管二,连接管一与对应的连接管二可拆卸连接,各连接管二伸出挤压式输液器二外的部分安装在一移动升降装置上并通过该移动升降装置伸入对应夹持装置处的各药瓶内。本发明的镇痛泵配置车使镇痛泵配置更为高效。 | ||||
| 补充信息 | |||||
| 转让方式: | 成熟度: | 预估价值: | |||
| 市场前景: | |||||