样品
成果详情
| 项目简介 | |||||
|---|---|---|---|---|---|
| 技术简介: | |||||
| 专利类型: | 实用新型 | 专利申请号: | CN202020869922.7 | 公开号: | CN212755881U |
| 专利权人: | 南方医科大学珠江医院 | 发明设计人: | 谭荣欢;张静;梁莺;李洁晶 | ||
| 所属领域: | |||||
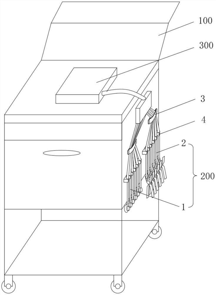
| 摘要: | 本实用新型公开了一种具有导线收纳功能的心电图机用推车,包括推车,在推车上放置有带导联线的心电图机,所述导联线包括若干条用于连接吸球的第一分线和若干条用于连接夹子的第二分线,在所述推车的一侧面并排安装有两个线夹,所述两个线夹分别夹住第一分线与第二分线,在每一线夹下方均安装有若干个线卡,各线卡分别与相应的一条第一分线或第二分线过渡配合。本实用新型能够避免心电图机的导联线的分线之间互相缠绕,提高医护人员的工作效率。 | ||||
| 补充信息 | |||||
| 转让方式: | 成熟度: | 预估价值: | |||
| 市场前景: | |||||