样品
成果详情
| 项目简介 | |||||
|---|---|---|---|---|---|
| 技术简介: | |||||
| 专利类型: | 实用新型 | 专利申请号: | CN202322304382.4 | 公开号: | CN221600705U |
| 专利权人: | 南方医科大学珠江医院 | 发明设计人: | 沈琼;吴颖楠;廖彬志 | ||
| 所属领域: | |||||
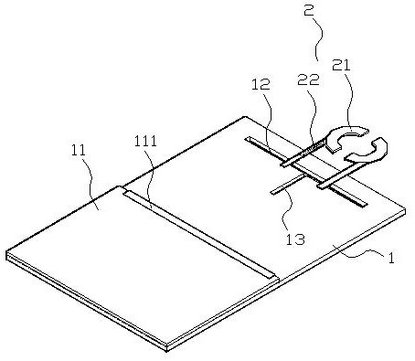
| 摘要: | 本实用新型涉及医疗用品领域,尤其涉及一种胃镜检查用铺巾,该铺巾可与患者脖颈连接,且设有盛接结构,有效解决背景技术中提出的问题。包括铺巾主体,所述铺巾主体呈长方体状,其右端部设有前后方向的第一条形通孔,第一条形通孔中心位置向左连通设有第二条形通孔;铺巾主体左侧上侧设有盖片,所述盖片前后两端部和左端部分别与铺巾主体粘接固定,形成右开口的兜体;兜体中插置有胃镜握持巾和口水擦拭巾;第二条形通孔左右两侧的铺巾主体上还粘接设有与患者口部配合的防护结构。它操作简单,使用方便,适用于多种身材的患者。 | ||||
| 补充信息 | |||||
| 转让方式: | 成熟度: | 预估价值: | |||
| 市场前景: | |||||