样品
成果详情
| 项目简介 | |||||
|---|---|---|---|---|---|
| 技术简介: | |||||
| 专利类型: | 实用新型 | 专利申请号: | CN202021091603.4 | 公开号: | CN213156547U |
| 专利权人: | 南方医科大学珠江医院 | 发明设计人: | 刘云霞;罗霞娟;李燕梅;黎明惠;欧丽珠 | ||
| 所属领域: | |||||
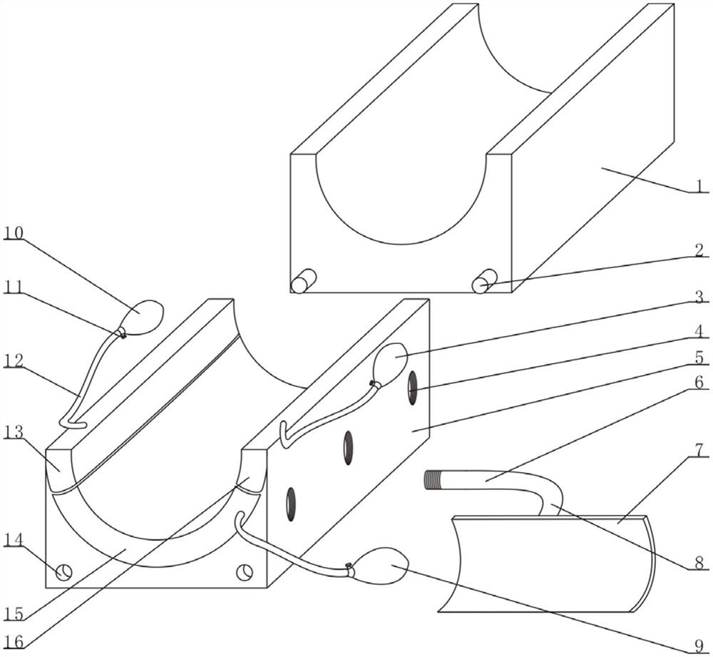
| 摘要: | 本实用新型涉及PICC置管辅助充气手垫,包括活动连接的第一垫块和第二垫块,所述第二垫块上分别设置有第一气囊、第二气囊和第三气囊;所述第一气囊、第二气囊和第三气囊上分别设有第一充气球、第二充气球和第三充气球,第一充气球、第二充气球和第三充气球通过连接充气管分别与第一气囊、第二气囊和第三气囊连通;所述第二垫块的外侧壁上活动连接有第一连接杆,第一连接杆上固定有第二连接杆,第二连接杆上固定有挡板;本实用新型实用性强,操作起来非常简单,能够更好地将患者的臂部抬起使插管部位更好地暴露,同时保持患者的手臂与躯干呈垂直角度放置,在提高患者舒适度的同时便于护士进行置管操作。 | ||||
| 补充信息 | |||||
| 转让方式: | 成熟度: | 预估价值: | |||
| 市场前景: | |||||