样品
成果详情
| 项目简介 | |||||
|---|---|---|---|---|---|
| 技术简介: | |||||
| 专利类型: | 实用新型 | 专利申请号: | CN202021446158.9 | 公开号: | CN213249534U |
| 专利权人: | 南方医科大学南方医院 | 发明设计人: | 韦潇;李秋凤;吴金艳 | ||
| 所属领域: | |||||
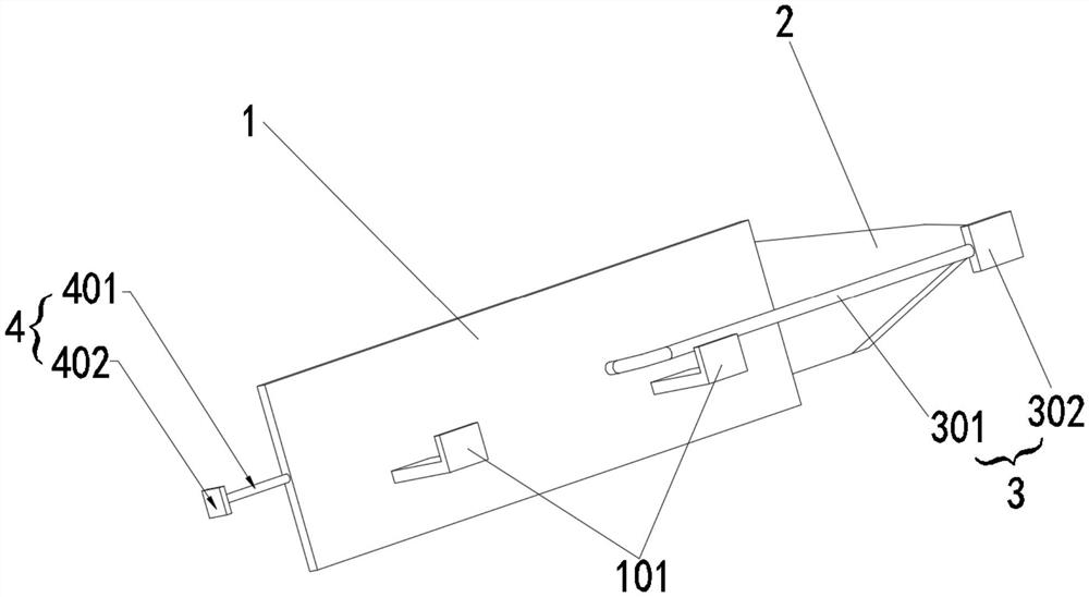
| 摘要: | 本实用新型涉及一种带刻度的PICC穿刺包用扩皮刀,属于医疗器械技术领域。包括刀柄、刀片、放大装置和推进装置,所述刀片滑动套设在所述刀柄内部,所述刀片的末端与所述刀柄之间沿水平方向设置有第一弹簧,所述刀片上还设置有垂直于所述刀片的空心的套杆,所述套杆通过第二弹簧连接有卡扣,所述刀柄上沿所述刀片的推进方向设置有与所述卡扣相配合的若干个卡槽;所述刀片的切割面上设置有刻度标识,所述刀柄的外侧面上设置有两块开口朝上的L形限位板,且两块所述L形限位板设置在同一水平线上。本实用新型其结构简单,使用方便,能够很好地帮助护士在破皮过程中掌握刺穿深度,减少病人的负担。 | ||||
| 补充信息 | |||||
| 转让方式: | 成熟度: | 预估价值: | |||
| 市场前景: | |||||