样品
成果详情
| 项目简介 | |||||
|---|---|---|---|---|---|
| 技术简介: | |||||
| 专利类型: | 发明 | 专利申请号: | CN202410525750.4 | 公开号: | CN118319347A |
| 专利权人: | 苏州仰视科技有限公司;南方医科大学珠江医院 | 发明设计人: | 王艳芳;汪洋;马力;周竹萍;马正文;黄润楸 | ||
| 所属领域: | |||||
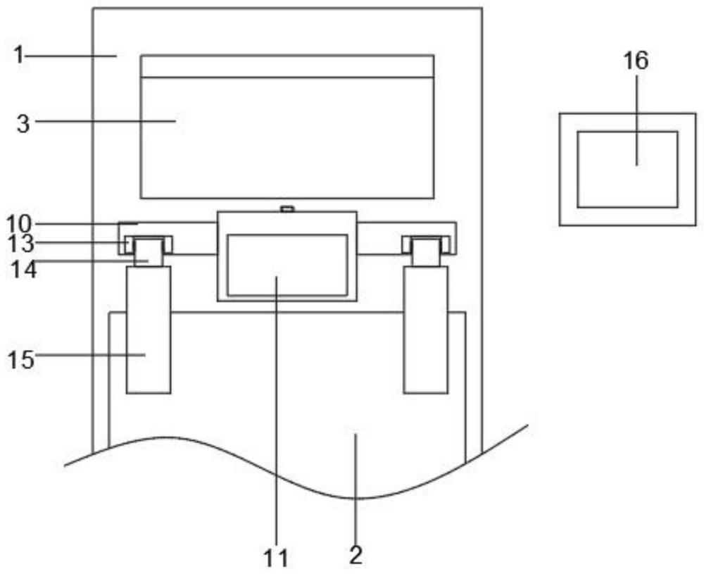
| 摘要: | 本发明公开了CT机颈肩部硬化束伪影消除系统,包括支撑床和图像处理器,支撑床的顶部设有支撑垫,支撑床的顶部设有支撑头枕,支撑床的顶部固定连接有支撑箱,支撑箱的内部转动连接有一号丝杆,支撑箱的内部设有转动机构,一号丝杆与转动机构连接,本发明的有益效果是:通过防护海绵,实现了防护海绵与肩颈部位置进行遮挡,避免强光的亮度对CT图像造成伪影的现象,对伪影进行消除处理,通过加入了转动机构,实现了二号锥齿轮带动一号锥齿轮和一号丝杆进行转动,从而对限位调节块、连接箱和颈部支撑枕的高度位置进行调节,支撑检查患者的颈部高度位置。 | ||||
| 补充信息 | |||||
| 转让方式: | 成熟度: | 预估价值: | |||
| 市场前景: | |||||