样品
成果详情
| 项目简介 | |||||
|---|---|---|---|---|---|
| 技术简介: | |||||
| 专利类型: | 实用新型 | 专利申请号: | CN202020803719.X | 公开号: | CN212327214U |
| 专利权人: | 南方医科大学南方医院 | 发明设计人: | 邹金华;许健柱;罗经杰;邓源;杨日赠;彭金浩;刘忠强;徐金锋;邝倍;李新宇;黄霖;李斯;叶锡渠;林耿贤;侯明扬;李晓俊;王惠;刘欢欢;熊斯丽 | ||
| 所属领域: | |||||
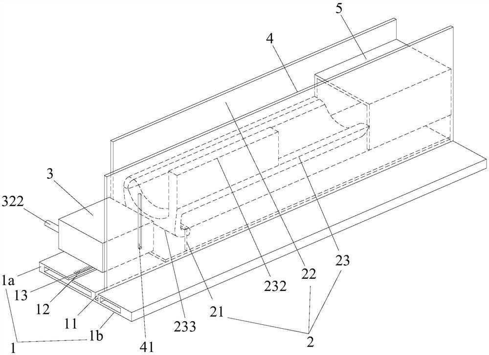
| 摘要: | 本实用新型公开了一种用于全身放射治疗的体位固定装置,包括底板、侧卧床体、头枕、散射屏和分腿凳;侧卧床体包括箱体、靠背板和发泡胶,箱体安装在底板的上侧,头枕于箱体长度方向的一端可移动地安装在底板上且与箱体之间具有一间隙,散射屏于箱体宽度方向的一侧固定在底板上侧,靠背板连接于箱体宽度方向的另一侧,发泡胶和分腿凳均位于箱体上侧并且位于靠背板和散射屏之间,发泡胶位于头枕和分腿凳之间,发泡胶的顶面凹陷形成限位凹槽,发泡胶的靠散射屏侧在接近头枕位置朝上延伸形成能挡止患者胸壁1/3的挡止部。本实用新型的用于全身放射治疗的体位固定装置能有效固定患者体位,能够确保摆位重复性一致,也增加了患者治疗过程中的舒适性。 | ||||
| 补充信息 | |||||
| 转让方式: | 成熟度: | 预估价值: | |||
| 市场前景: | |||||