样品
成果详情
| 项目简介 | |||||
|---|---|---|---|---|---|
| 技术简介: | |||||
| 专利类型: | 实用新型 | 专利申请号: | CN202021331229.0 | 公开号: | CN212739177U |
| 专利权人: | 南方医科大学南方医院 | 发明设计人: | 李冰 | ||
| 所属领域: | |||||
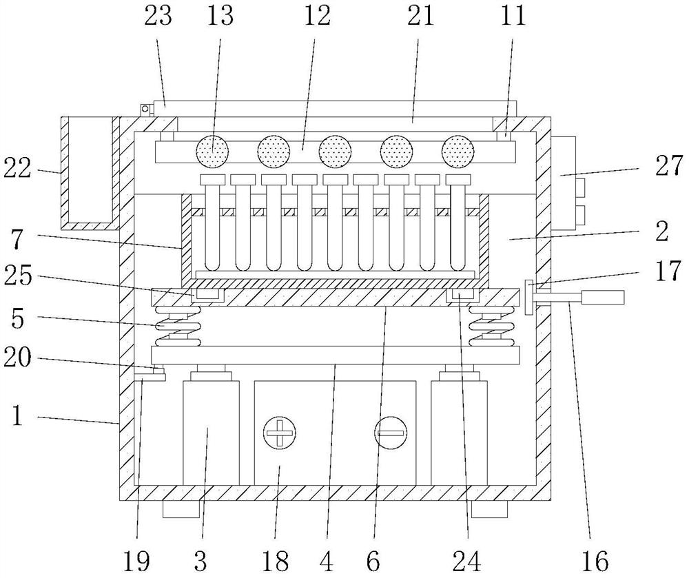
| 摘要: | 本实用新型公开了传染病标本收纳盒,包括箱体,所述箱体内腔的底部固定连接有隔板,所述箱体内腔底部前侧的两侧均固定连接有电动伸缩杆,所述电动伸缩杆的顶端固定连接有活动板,所述活动板顶部的两侧均固定连接有弹簧,所述弹簧的顶端固定连接有放置板,所述放置板的顶部放置有收纳盒,所述箱体内腔底部的后侧固定连接有消毒箱。本实用新型具备便于拿取收纳盒及具有消毒结构的优点,解决了现有的传染病标本收纳盒,在使用过程中,由于结构单一,收纳盒无法自动上升和下降,导致不便于检验人员的拿取,且不具有消毒结构,不能对收纳盒进行喷洒消毒液,降低了传染病标本收纳盒适用性的问题。 | ||||
| 补充信息 | |||||
| 转让方式: | 成熟度: | 预估价值: | |||
| 市场前景: | |||||