样品
成果详情
| 项目简介 | |||||
|---|---|---|---|---|---|
| 技术简介: | |||||
| 专利类型: | 实用新型 | 专利申请号: | CN201920287159.4 | 公开号: | CN209916899U |
| 专利权人: | 南方医科大学珠江医院 | 发明设计人: | 幸维炜 | ||
| 所属领域: | |||||
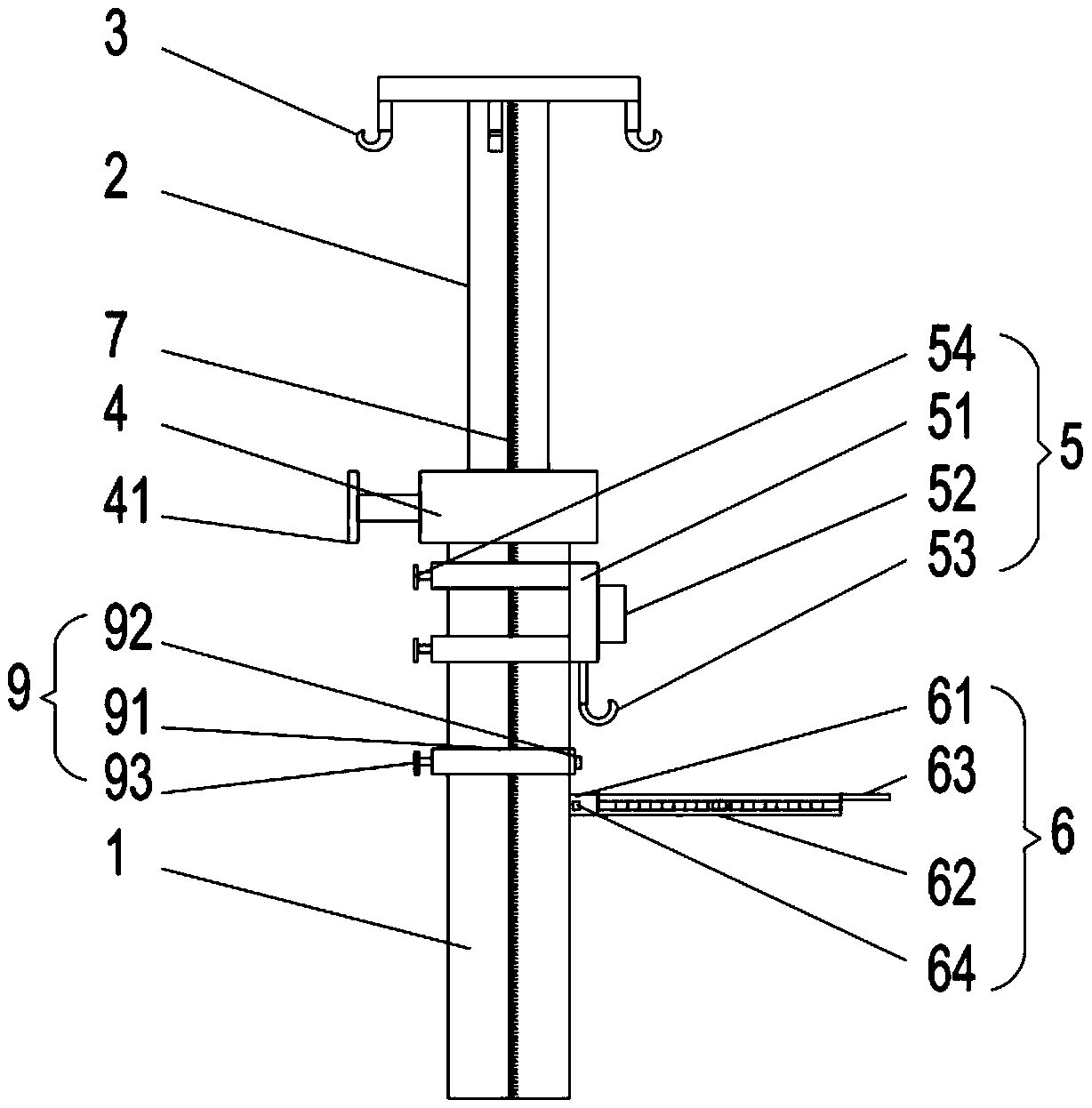
| 摘要: | 本实用新型提供了一种具有脑科引流管固定报警功能的可调输液杆,包括第一支撑杆,还包括一端插入第一支撑杆上端并且与第一支撑杆活动连接的第二支撑杆、可调节的设置于第一支撑杆上的检测报警装置和用于与第一支撑杆接触用于对引流管高度位置进行确定的位置调节检测装置,所述第一支撑杆与第二支撑杆连接端设置有用于固定连接的固定调节头,所述第二支撑杆上端设置有若干个用于输液袋固定的输液袋支撑结构,所述检测报警装置设置有用于对引流管流量进行检测和报警的引流报警装置,所述位置调节检测装置上设置有用于对引流管高度进行检测的水平测量装置。通过本实用新型能够有效提高引流管调节定位的准确性,确保患者安全。 | ||||
| 补充信息 | |||||
| 转让方式: | 成熟度: | 预估价值: | |||
| 市场前景: | |||||