样品
成果详情
| 项目简介 | |||||
|---|---|---|---|---|---|
| 技术简介: | |||||
| 专利类型: | 实用新型 | 专利申请号: | CN202222948745.3 | 公开号: | CN218367611U | 
| 专利权人: | 南方医科大学南方医院 | 发明设计人: | 昌海燕;王莉慧 | ||
| 所属领域: | |||||
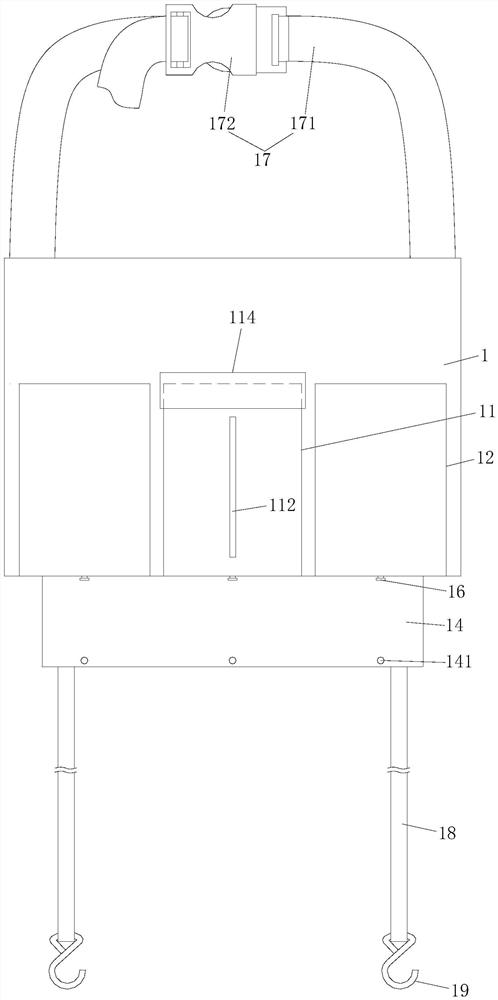
| 摘要: | 本实用新型公开了一种汽车座椅背部使用收纳袋,包括主体和固定带,主体的前侧有抽纸盒储存袋和位于抽纸盒储存袋两侧的上端敞口的袋体,各袋体的内侧有内衬,所述袋体内的内衬是仅在上边缘与袋体的上边缘缝合固定在一起的可拉出袋体外的活动袋,主体、袋体、抽纸盒储存袋以及内衬均采用软硅胶材质制成。本实用新型的汽车座椅背部使用收纳袋能将内衬拉出来清洁,使内衬不易藏污纳垢。 | ||||
| 补充信息 | |||||
| 转让方式: | 成熟度: | 预估价值: | |||
| 市场前景: | |||||