样品
成果详情
| 项目简介 | |||||
|---|---|---|---|---|---|
| 技术简介: | |||||
| 专利类型: | 实用新型 | 专利申请号: | CN202321851068.1 | 公开号: | CN220735584U |
| 专利权人: | 南方医科大学深圳医院 | 发明设计人: | 吕炜;刘启珍;邓裕灵;杨晶茹;林梦芳 | ||
| 所属领域: | |||||
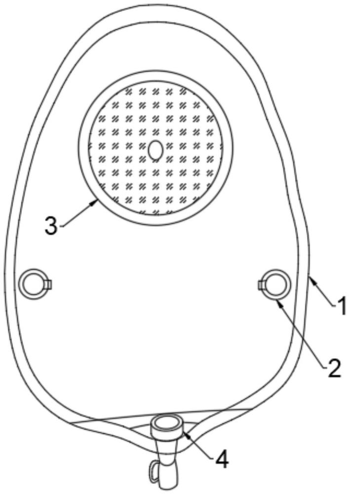
| 摘要: | 本实用新型公开了一种新型造口袋,涉及造口袋技术领域,包括袋体以及设置于袋体一侧外表面的两个引流机构,所述引流机构包括设置于袋体一侧外表面的座口,所述座口的内圆面固定连接有两个O型密封圈,所述座口的外圆面固定连接有固定座,所述固定座的一侧外表面固定连接有橡胶连接带,所述橡胶连接带的一端固定连接有盖体,所述盖体的外圆面开设有两个U型密封槽。该新型造口袋,与现有的普通造口袋相比,该新型造口袋上的两个座口上的盖体可打开,橡胶连接带起连接作用,防止盖体遗失,两个O型密封圈和U型密封槽可在盖体关闭时发挥较好的密封作用,防止渗液,此设计可避免人工手工修剪造口袋进行引流操作。 | ||||
| 补充信息 | |||||
| 转让方式: | 成熟度: | 预估价值: | |||
| 市场前景: | |||||