样品
成果详情
| 项目简介 | |||||
|---|---|---|---|---|---|
| 技术简介: | |||||
| 专利类型: | 发明 | 专利申请号: | CN202211380048.0 | 公开号: | CN115553933A |
| 专利权人: | 南方医科大学珠江医院 | 发明设计人: | 李静 | ||
| 所属领域: | |||||
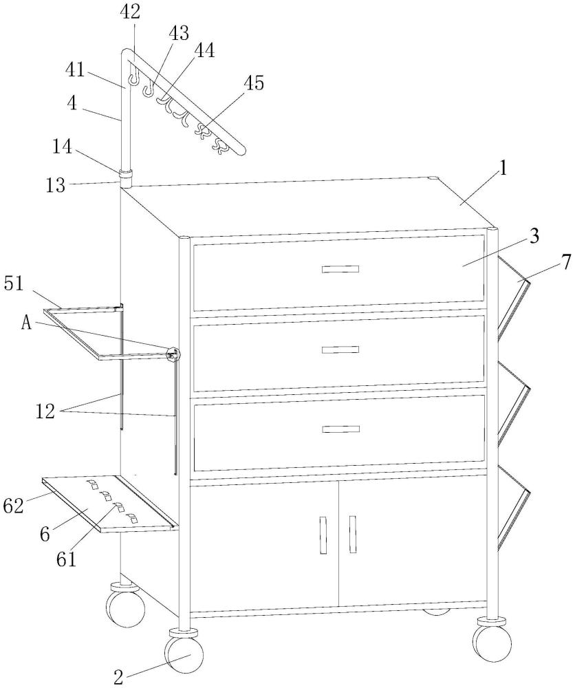
| 摘要: | 本发明公开了一种多功能内镜诊疗车,包括不锈钢材质的车体和装于车体底部的车轮,车体的前侧有上下布置的抽屉,所述车体的一侧面活动安装有可180度旋转且沿上下方向间隔分布的多个配件支撑板,各配件支撑板具有打开与车体侧面呈锐角夹角的第一状态和收起与车体侧面平行的第二状态,车体的另一相对侧面有沿上下间隔分布的可升降挂架、可升降翻折的无菌袋套架和用于防止内镜附件垂至地面的可翻折的护板,无菌袋套架于翻折后插装于护板内。本发明的多功能内镜诊疗车能减少空间的占用,取用手术用器械和配件方便,保证了手术的效率和安全,可防止内镜附件垂至地面被污染。 | ||||
| 补充信息 | |||||
| 转让方式: | 成熟度: | 预估价值: | |||
| 市场前景: | |||||