样品
成果详情
| 项目简介 | |||||
|---|---|---|---|---|---|
| 技术简介: | |||||
| 专利类型: | 实用新型 | 专利申请号: | CN202222177364.X | 公开号: | CN218073798U |
| 专利权人: | 南方医科大学珠江医院 | 发明设计人: | 贺娟 | ||
| 所属领域: | |||||
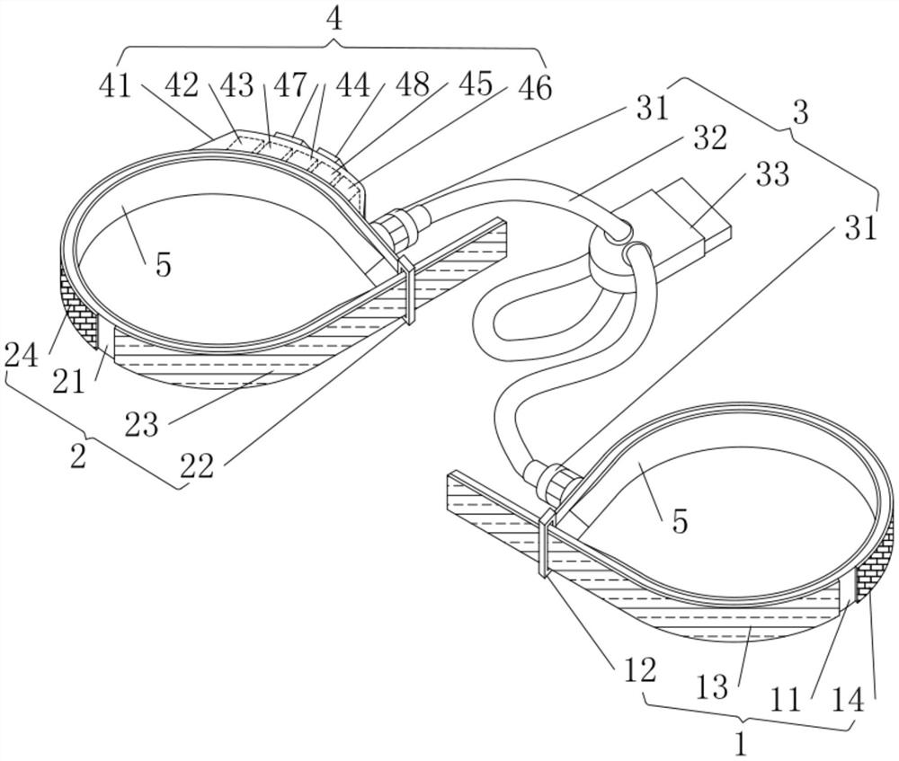
| 摘要: | 本实用新型公开了一种神志不清患者用的约束手链,包括用于穿戴在看护人身上或者外部物体上的第一手环以及与该第一手环连接用于穿戴在神志不清患者身上的第二手环;所述第一手环、第二手环之间通过一连接结构连接,所述连接结构包括两个分别设在所述第一手环、第二手环上的密码锁,在两个所述密码锁之间设有一与该密码锁连接的连接带,在所述连接带上设有调节扣;还在所述第二手环上设有一用于定位患者位置的定位结构。本实用新型具有能够对神志不清患者进行约束限定以预防走失、当神志不清患者意外走失时能够对该患者进行定位寻找、有效降低寻找难度、寻找省时省力的优点。 | ||||
| 补充信息 | |||||
| 转让方式: | 成熟度: | 预估价值: | |||
| 市场前景: | |||||