样品
成果详情
| 项目简介 | |||||
|---|---|---|---|---|---|
| 技术简介: | |||||
| 专利类型: | 实用新型 | 专利申请号: | CN202020362947.8 | 公开号: | CN211062085U |
| 专利权人: | 南方医科大学珠江医院 | 发明设计人: | 廖荣荣;许雪莲;胡明明;肖超华 | ||
| 所属领域: | |||||
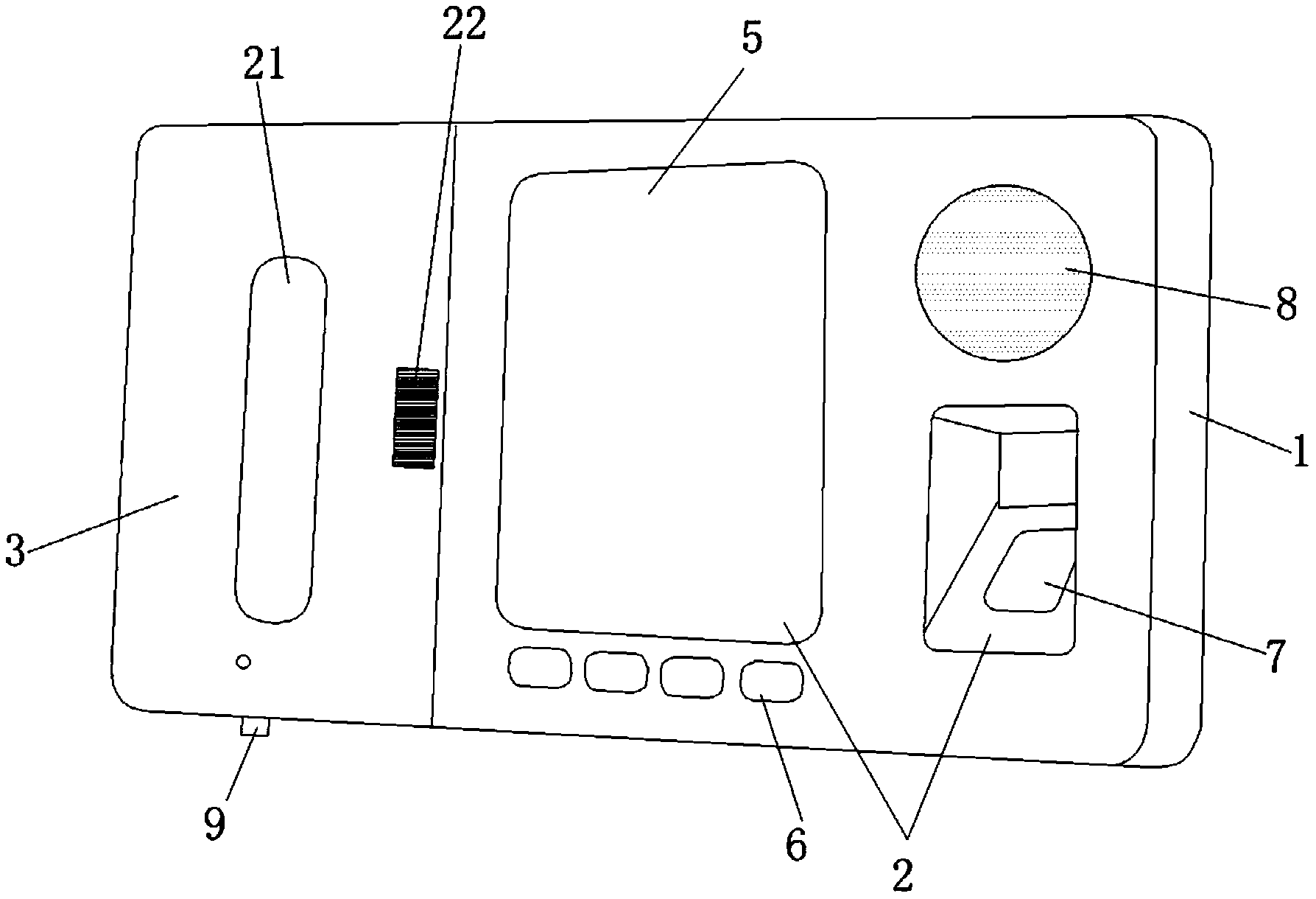
| 摘要: | 本实用新型公开了一种急会诊签到设备,用于医院急诊科抢救室记录医生就诊时间,包括有壳体、信息采集组件和感应消毒组件,所述信息采集组件和感应消毒组件均设于壳体内,所述感应消毒组件设于信息采集组件侧边,通过信息采集组件采集医生信息和就诊时间,感应消毒组件进行接触皮肤消毒,所述信息采集组件包括有控制电路板和分别与其连接的显示屏、功能按键、指纹采集器和扬声器,所述显示屏设于壳体的左上方,所述功能按键设于壳体下方,所述指纹采集器设于显示屏右侧,所述扬声器设于指纹采集器下方,通过控制电路板控制指纹采集器采集医生信息,显示屏显示医生达到时间,扬声器播放医生已到达的语音信息,功能按键查看或调整显示屏显示内容。 | ||||
| 补充信息 | |||||
| 转让方式: | 成熟度: | 预估价值: | |||
| 市场前景: | |||||