样品
成果详情
| 项目简介 | |||||
|---|---|---|---|---|---|
| 技术简介: | |||||
| 专利类型: | 实用新型 | 专利申请号: | CN202320119800.X | 公开号: | CN220158899U |
| 专利权人: | 南方医科大学南方医院 | 发明设计人: | 夏燕飞;刘梅娟;施燕;李秀梅;连静维 | ||
| 所属领域: | |||||
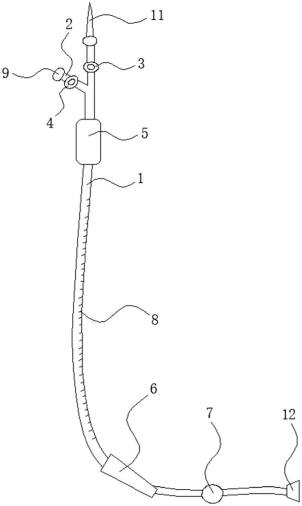
| 摘要: | 本实用新型涉及医疗器械技术领域,公开了一种可测量中心静脉压的输液管道,其包括第一管、第二管、第一输液夹和第二输液夹,第一管和第二管均为空心管且第一管与第二管连通,第一管的第一端用于伸入液体中,第一管的第二端用于连接静脉管道,第一输液夹靠近第一管的第一端设置,第二输液夹设于第二管上。本实用新型的有益效果为:整体输液管道在测量完静脉压后还可以继续输液使用,节约了成本,且减少了各部分接口连接和断开的次数,避免感染,同时减少测量中心静脉压所使用的物品数量,便于操作,节省时间。 | ||||
| 补充信息 | |||||
| 转让方式: | 成熟度: | 预估价值: | |||
| 市场前景: | |||||