样品
成果详情
| 项目简介 | |||||
|---|---|---|---|---|---|
| 技术简介: | |||||
| 专利类型: | 实用新型 | 专利申请号: | CN201822085452.0 | 公开号: | CN209460144U |
| 专利权人: | 南方医科大学珠江医院;暨南大学 | 发明设计人: | 毛华;黄富荣;韦仲;黎远鹏 | ||
| 所属领域: | |||||
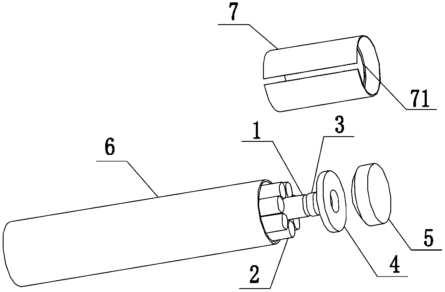
| 摘要: | 本实用新型公开了一种光纤内窥拉曼光谱用探头,收集光纤环绕激发光纤设置,外皮包裹收集光纤与激发光纤形成的整体,顶套设置于探头末端将透镜固定于收集光纤与激发光纤的末端;本实用新型光纤内窥拉曼光谱用探头,多根收集光纤环绕激发光纤的结构,减小了激发光纤产生的背景信号的干扰,增大了探头整体的直径,提高收集效率;收集光纤末端的斜面提高了收集效率,同时卡环的设计保证透镜与组织之间的距离,保证了优良的检测效果。 | ||||
| 补充信息 | |||||
| 转让方式: | 成熟度: | 预估价值: | |||
| 市场前景: | |||||