样品
成果详情
| 项目简介 | |||||
|---|---|---|---|---|---|
| 技术简介: | |||||
| 专利类型: | 实用新型 | 专利申请号: | CN201921220511.9 | 公开号: | CN210311311U |
| 专利权人: | 南方医科大学南方医院 | 发明设计人: | 陈湘;彭群;旷丽荷;黄颖 | ||
| 所属领域: | |||||
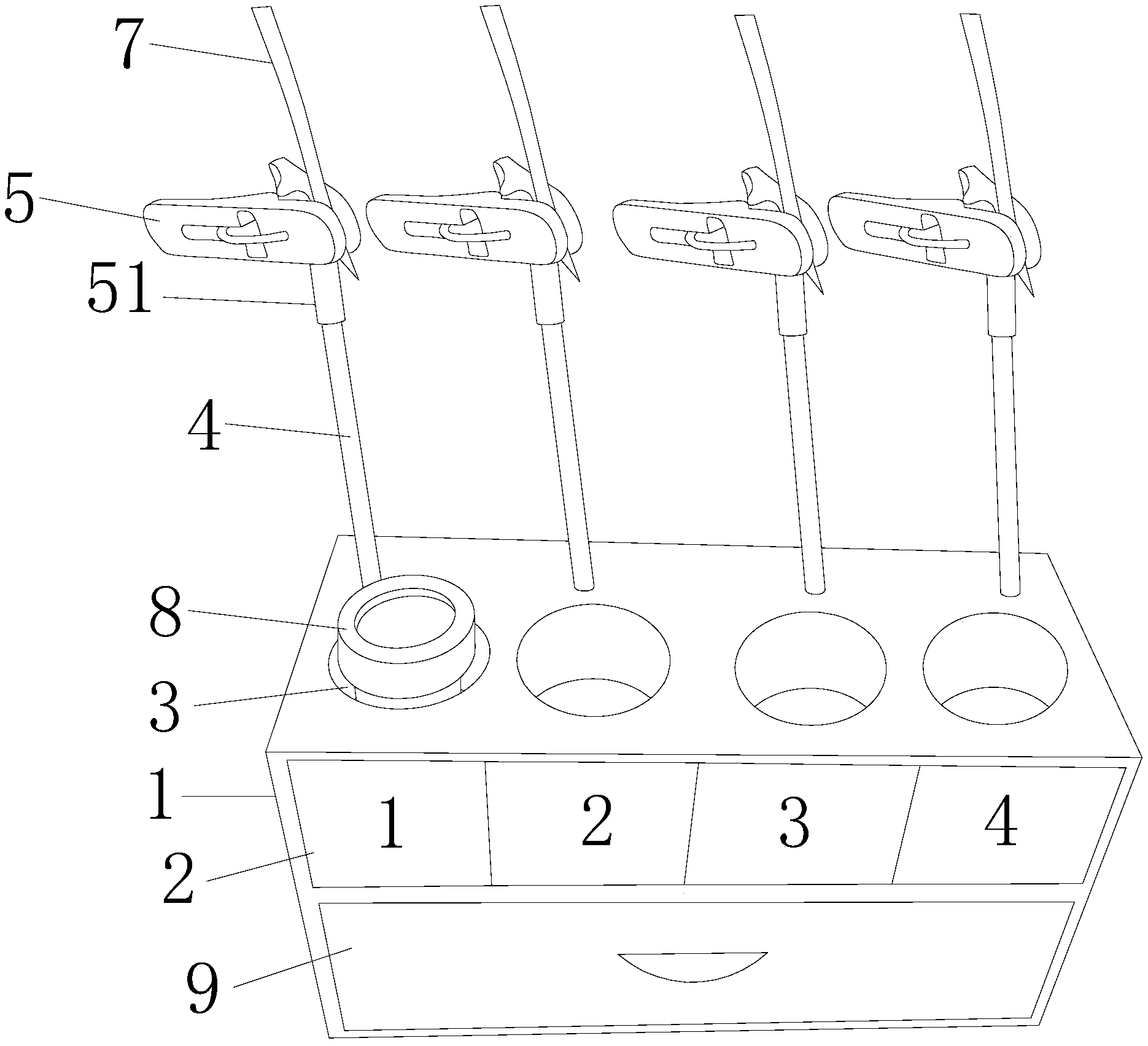
| 摘要: | 本实用新型公开了一种内镜标本收集架,包括盒体,盒体的正前壁按顺序标有数字,盒体的顶面靠前侧凹陷有多个成一排布置的标本瓶限位孔,盒体上在一排标本瓶限位孔的后侧固定有呈一排布置的多条立杆,多条立杆和多个标本瓶限位孔与盒体正前壁的数字一一对应,各立杆的上端可拆卸连接有一滤纸夹。本实用新型的内镜标本收集架可避免多个部位取活检时顺序出现混乱。 | ||||
| 补充信息 | |||||
| 转让方式: | 成熟度: | 预估价值: | |||
| 市场前景: | |||||