样品
成果详情
| 项目简介 | |||||
|---|---|---|---|---|---|
| 技术简介: | |||||
| 专利类型: | 实用新型 | 专利申请号: | CN202323630715.9 | 公开号: | CN221511401U |
| 专利权人: | 南方医科大学南方医院 | 发明设计人: | 尹茜;李雷;张平秀 | ||
| 所属领域: | |||||
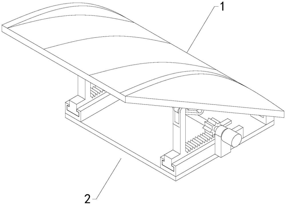
| 摘要: | 本实用新型涉及腰椎靠垫技术领域,尤其为一种可调腰椎靠垫,包括靠垫本体,所述靠垫本体的底部设置有调节组件,所述调节组件包括底板,所述底板基面的左前侧设置有第一转动座,所述底板基面的右前侧设置有第二转动座,通过在可调腰椎靠垫上设置调节组件,运行驱动马达可带动连接杆进行转动,在齿轮和齿条的配合下带动第一滑杆和第二滑杆进行移动,通过第一滑杆和第二滑杆可带动第一支撑杆和第二支撑杆进行移动,当第一支撑杆和第二支撑杆移动时分别带动第一调节杆和第二调节杆进行转动,从而可根据需要对靠枕本体的角度进行调节,使其在使用时更加方便,整体装置结构简单、操作方便且实用性更高。 | ||||
| 补充信息 | |||||
| 转让方式: | 成熟度: | 预估价值: | |||
| 市场前景: | |||||