样品
成果详情
| 项目简介 | |||||
|---|---|---|---|---|---|
| 技术简介: | |||||
| 专利类型: | 实用新型 | 专利申请号: | CN202121983532.3 | 公开号: | CN215840148U | 
| 专利权人: | 南方医科大学南方医院 | 发明设计人: | 陈玲;陈建辉 | ||
| 所属领域: | |||||
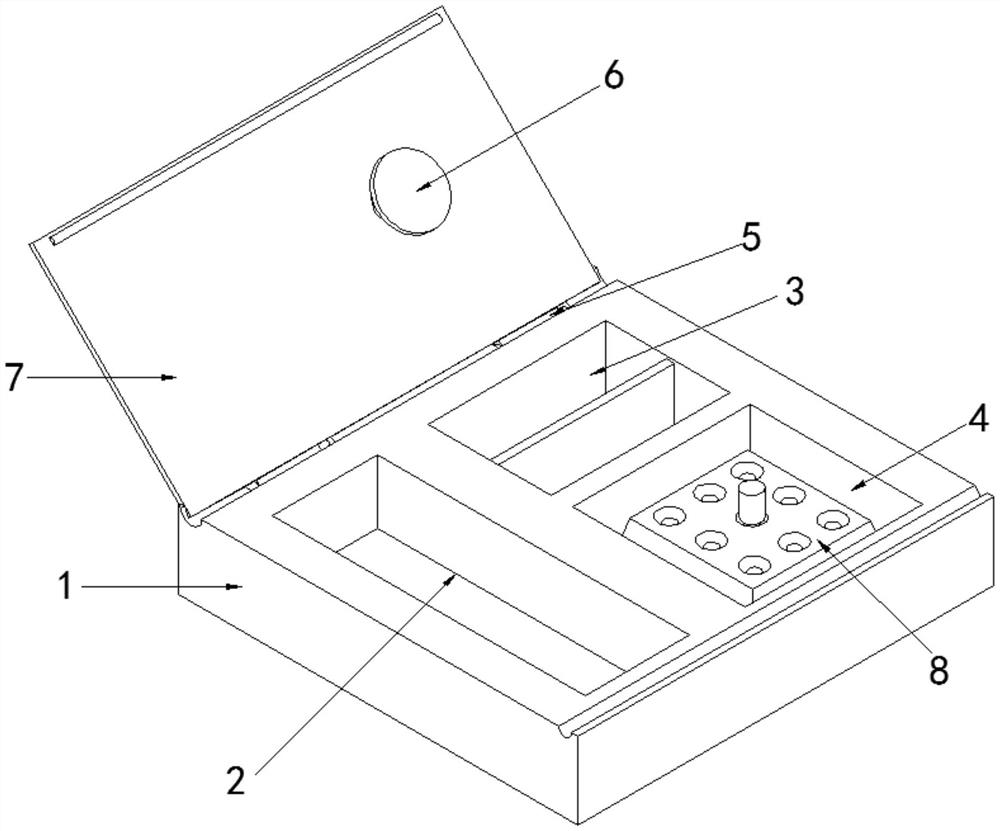
| 摘要: | 本实用新型涉及医疗设备技术领域,且公开了一种医用护理盘,包括盘体,所述盘体顶部开设有器械槽,所述顶部开设有分级槽,所述盘体顶部开设有插槽,所述插槽底部开设有磁制卡块,所述插槽中部内壁卡接有药物架,所述盘体中部内壁活动连接有铰接轴,所述铰接轴外侧固定连接有盘盖,所述盘盖背面固定连接有压块,所述药物架中部内壁固定连接有插筒,所述插筒内侧固定连接有轴座,所述轴座顶部活动连接有活动杆。该医用护理盘通过弧形夹板带动活动杆运动,活动杆带动弹簧柱运动,再通过轴座与插筒的配合使用,从而达到操作简单,便于拿取防止药瓶松动倾倒的效果,与传统设备相比较该医疗盘能够有效的保证药瓶的运输稳定性。 | ||||
| 补充信息 | |||||
| 转让方式: | 成熟度: | 预估价值: | |||
| 市场前景: | |||||