样品
成果详情
| 项目简介 | |||||
|---|---|---|---|---|---|
| 技术简介: | |||||
| 专利类型: | 实用新型 | 专利申请号: | CN201920890977.3 | 公开号: | CN210301547U |
| 专利权人: | 南方医科大学南方医院 | 发明设计人: | 曾鹏程;黄飞华 | ||
| 所属领域: | |||||
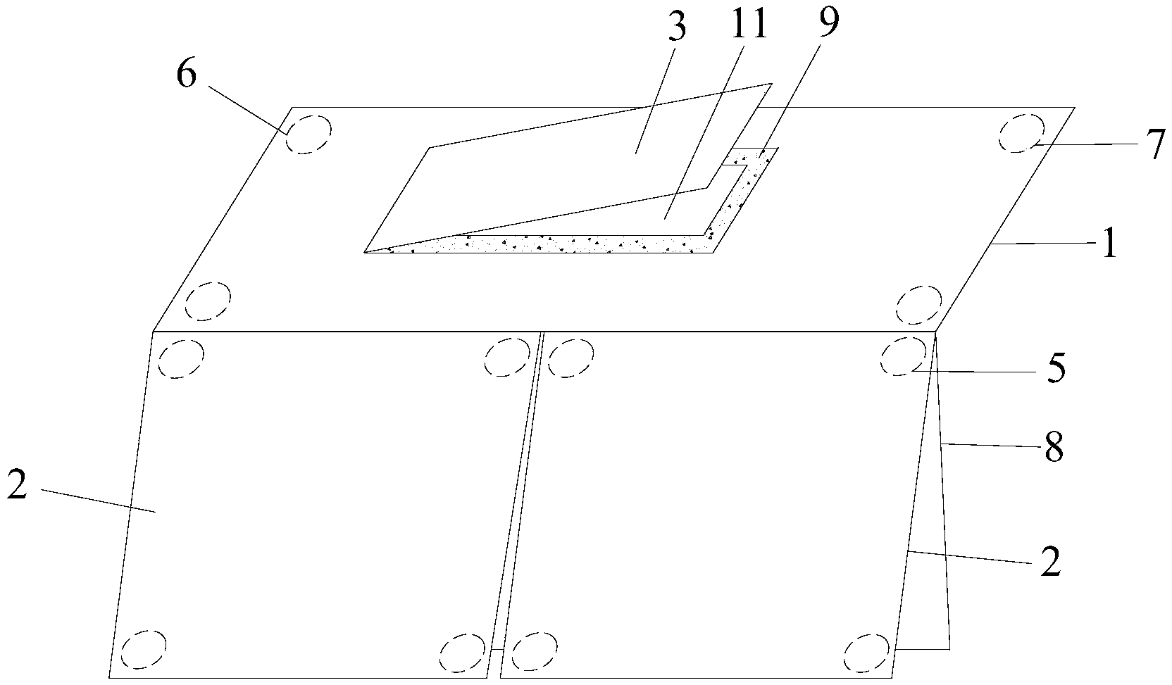
| 摘要: | 本实用新型公开了一种温箱罩,包括遮罩在温箱顶部的不透光的一上遮盖体和遮罩在温箱前侧的不透光的二前遮盖体,二前遮盖体呈左右并排布置且上端均与上遮盖体前侧固定连接,上遮盖体的中部开有照蓝光窗口,照蓝光窗口处有可打开和关闭的不透光的窗口遮盖体,上遮盖体下侧的四个转角位置均固定有吸盘,各前遮盖体的前侧在四个转角位置均固定有使每两个对角相互吸附固定的磁铁一,上遮盖体上侧左边的两个转角位置均固定有与位于左侧的前遮盖体的右下角的磁铁一相互吸附固定的磁铁二,上遮盖体上侧右边的两个转角位置均固定有与位于右侧的前遮盖体的左下角的磁铁一相互吸附固定的磁铁三。本实用新型的温箱罩能够遮光、隔音,有效改善早产儿睡眠环境。 | ||||
| 补充信息 | |||||
| 转让方式: | 成熟度: | 预估价值: | |||
| 市场前景: | |||||