样品
成果详情
| 项目简介 | |||||
|---|---|---|---|---|---|
| 技术简介: | |||||
| 专利类型: | 发明 | 专利申请号: | CN202410730738.7 | 公开号: | CN118286018A |
| 专利权人: | 南方医科大学南方医院 | 发明设计人: | 胡艳;陈晓薇;严莹;韦金玲;晁远 | ||
| 所属领域: | |||||
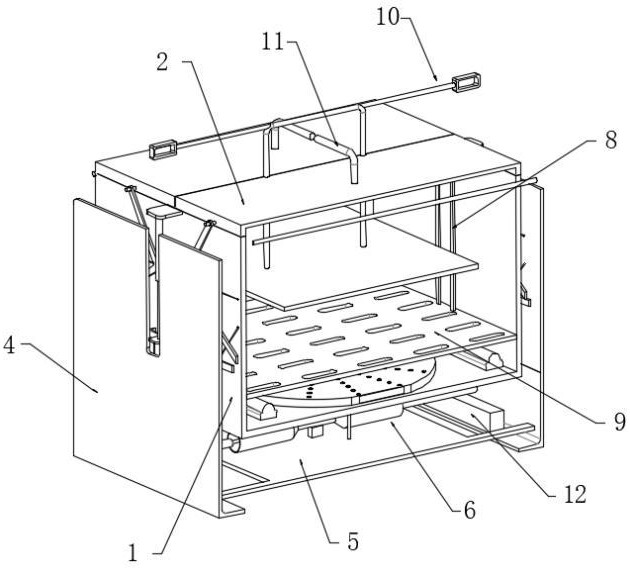
| 摘要: | 本发明公开了一种便于携带的医疗护理箱,属于医疗护理箱技术领域,包括箱体以及转动设置在箱体顶部的两个箱盖,所述箱体的两侧设有牵引组件,该牵引组件用于驱动箱盖进行翻转,所述箱体的底部设有进气组件,该进气组件通过向箱体内吹气将箱体内营造正压环境,所述进气组件上设有驱动升降组件,该驱动升降组件可以带动进气组件进行转动和升降,这样改变气流的流动方向。本发明通过对箱体内吹气保持正压环境,这样减少外界细菌或污染物的进入,而且在吹气时压缩空气使得吹入的气体降温,这样有利于药品的低温存放,而且还可以对医疗器械和药品压紧定位,同时还方便多人进行搬运,使得携带更加省力,而且还方便控制箱盖的开闭,防止碰撞误开。 | ||||
| 补充信息 | |||||
| 转让方式: | 成熟度: | 预估价值: | |||
| 市场前景: | |||||