样品
成果详情
| 项目简介 | |||||
|---|---|---|---|---|---|
| 技术简介: | |||||
| 专利类型: | 实用新型 | 专利申请号: | CN202021023197.8 | 公开号: | CN212816980U |
| 专利权人: | 南方医科大学南方医院 | 发明设计人: | 谢红燕;汤青云;马琼;黄少燕 | ||
| 所属领域: | |||||
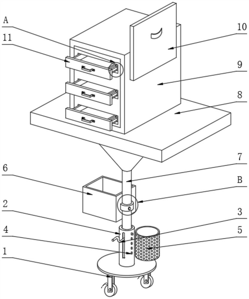
| 摘要: | 本实用新型公开了一种PICC置管托车,具体涉及医疗托车技术领域,包括可移动底座,所述可移动底座的顶端表面中部位置设置有套筒座,所述套筒座的一侧设置有垃圾桶,且套筒座的前表面安装有手柄,所述套筒座的顶端连接有升降柱,且套筒座的内腔侧壁安装有齿条。本实用新型设置了升降柱以及套筒座,通过可移动底座移动可调节托车,增加患者的舒适度,有利于护士的操作,其中升降柱可以升降(可以根据病人的情况来升降),适用范围更广,解决了升降柱高度不易调节的问题,设置了立式架以及放置盒,手臂穿过弹性固定带,病人舒适度也可以提高,消毒液可放入到放置盒的内部,实现消毒液的有序放置。 | ||||
| 补充信息 | |||||
| 转让方式: | 成熟度: | 预估价值: | |||
| 市场前景: | |||||