样品
成果详情
| 项目简介 | |||||
|---|---|---|---|---|---|
| 技术简介: | |||||
| 专利类型: | 实用新型 | 专利申请号: | CN202121709976.8 | 公开号: | CN214909642U | 
| 专利权人: | 南方医科大学南方医院 | 发明设计人: | 曹阳;周茹月 | ||
| 所属领域: | |||||
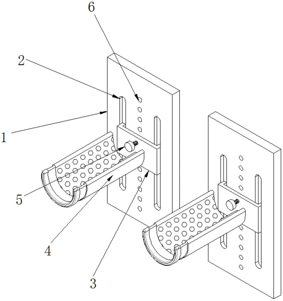
| 摘要: | 本实用新型公开了一种下肢静脉血栓用下肢调节装置,包括固定板体、滑动板、腿托组件、栏杆固定件,所述固定板体的外壁上对称设有滑动槽,所述固定板体的外壁位于两侧滑动槽之间设有固定螺孔;所述滑动板呈U型结构,所述滑动板的两侧外壁滑动连接在滑动槽的内壁上,所述滑动板上通过螺纹垂直连接有滑动板固定螺杆。本实用新型通过垂直于床面的板体,板体利用栏杆固定扣固定,随取随用,拆装便捷,板体上通过半圆形瓦状板承托腿部,半圆形瓦状板可抽拉调节其长度,用于不同病患的腿长和体型,瓦状板可利用滑动板上下调节,使病患的腿部抬起不同高度,瓦状板设有通气孔,减少腿部闷热和褥疮产生。 | ||||
| 补充信息 | |||||
| 转让方式: | 成熟度: | 预估价值: | |||
| 市场前景: | |||||