样品
成果详情
| 项目简介 | |||||
|---|---|---|---|---|---|
| 技术简介: | |||||
| 专利类型: | 实用新型 | 专利申请号: | CN202120345101.8 | 公开号: | CN214966211U |
| 专利权人: | 南方医科大学珠江医院 | 发明设计人: | 张静;梁莺;陈燕娜;李洁晶;王映娥 | ||
| 所属领域: | |||||
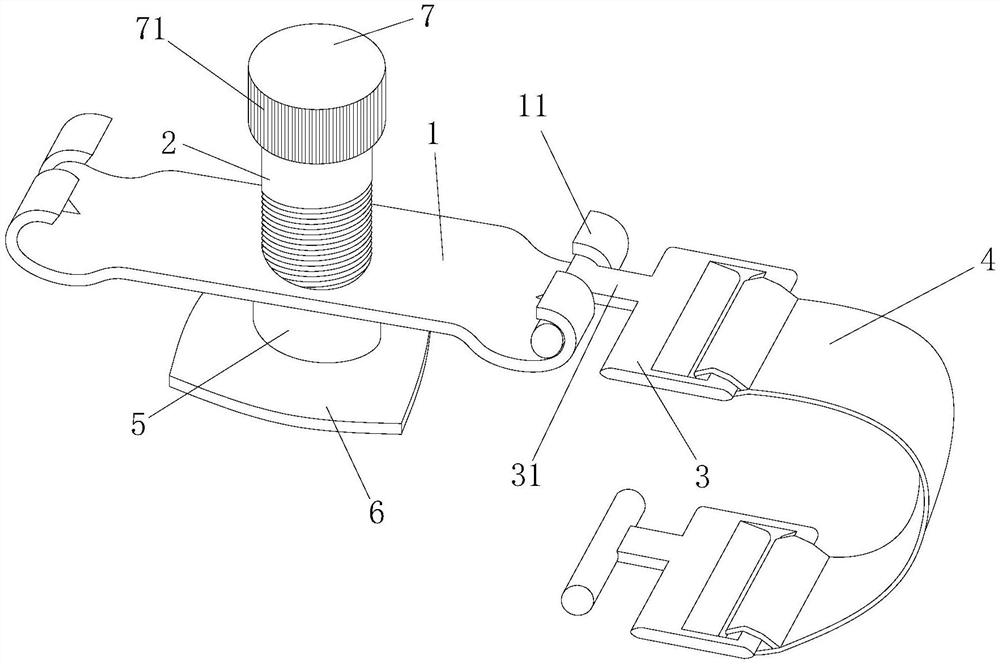
| 摘要: | 本实用新型公开了一种桡动脉压迫止血带,包括止血带本体、设于止血带本体上方的螺栓调节杆、设于止血带本体下方的止血按压包,所述螺栓调节杆顶部设有一个调节帽,所述调节帽外围设有多道防滑竖槽,在所述止血带本体中部开设有用于与螺栓调节杆螺纹连接的螺纹通孔,所述螺栓调节杆下端螺纹安装在所述螺纹通孔上并穿出止血带本体后与所述止血按压包压紧配合;还包括一个弹性固定带并且该弹性固定带两端分别与所述止血带本体两端连接,其中,所述弹性固定带的长度小于所述止血带本体的长度。本实用新型结构简单、方便佩戴并且按压操作方便。 | ||||
| 补充信息 | |||||
| 转让方式: | 成熟度: | 预估价值: | |||
| 市场前景: | |||||