样品
成果详情
| 项目简介 | |||||
|---|---|---|---|---|---|
| 技术简介: | |||||
| 专利类型: | 发明 | 专利申请号: | CN202110889155.5 | 公开号: | CN113558396A |
| 专利权人: | 南方医科大学南方医院 | 发明设计人: | 秦玲;吴辉彬 | ||
| 所属领域: | |||||
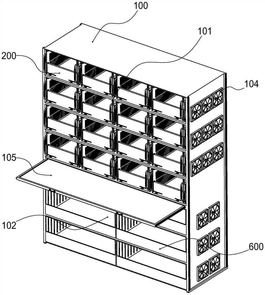
| 摘要: | 本发明公开了一种模块化的药柜,包括柜体,柜体上部设置有第一存储空间,第一存储空间内沿水平方向和竖直方向线性阵列有若干第一箱体单元,第一箱体单元设置有前侧板、后侧板、底板和挡板,前侧板设置有第一开口,后侧板设置有第二开口,挡板可拆卸地设置在第一箱体单元的两侧,第一箱体单元的两侧设置有连接机构,相邻的两个第一箱体单元在靠近侧的挡板拆卸的时候能够通过连接机构自动拼合在一起。将药柜设计成模块化的结构,每一个第一箱体单元为一个储存单元,并且相邻的第一箱体单元能够拼合成新的储存单元,通过调整拼合在一起的第一箱体单元的数量,能够满足不同药品的存储需求。 | ||||
| 补充信息 | |||||
| 转让方式: | 成熟度: | 预估价值: | |||
| 市场前景: | |||||