样品
成果详情
| 项目简介 | |||||
|---|---|---|---|---|---|
| 技术简介: | |||||
| 专利类型: | 实用新型 | 专利申请号: | CN202121311224.6 | 公开号: | CN214825046U |
| 专利权人: | 南方医科大学南方医院 | 发明设计人: | 游丽娟;钟超;叶桂荣 | ||
| 所属领域: | |||||
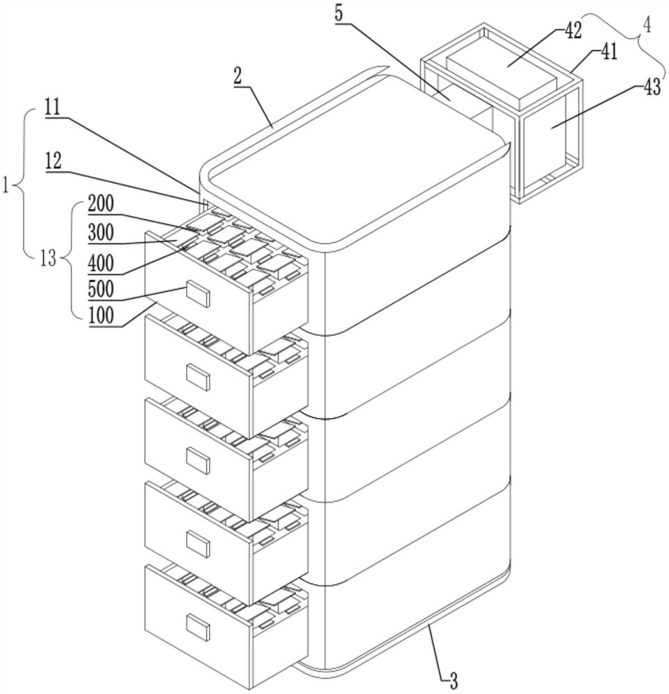
| 摘要: | 本实用新型公开了一种用于移植患者的服药提醒药盒,包括多个并排设置且相互之间可拆卸连接的储药盒;在每一所述储药盒的顶部以及底部均分别设有单向滑槽和单向滑条,并且,每一所述储药盒上的所述单向滑槽均与位于其上方的所述储药盒上的所述单向滑条可拆卸卡扣配合将相邻的两个所述储药盒连接在一起;在每一所述储药盒的一侧端均设有一能够与一定时提醒装置可拆卸连接的安装座。本实用新型具有使用方便、能够按时准确地提醒移植患者服药、有效防止移植患者不能及时服药或者错服药物的优点。 | ||||
| 补充信息 | |||||
| 转让方式: | 成熟度: | 预估价值: | |||
| 市场前景: | |||||