样品
成果详情
| 项目简介 | |||||
|---|---|---|---|---|---|
| 技术简介: | |||||
| 专利类型: | 实用新型 | 专利申请号: | CN201921745933.8 | 公开号: | CN211214528U |
| 专利权人: | 南方医科大学南方医院 | 发明设计人: | 蒲小芹;苏青;黄惠萍;钟奕;姚艳 | ||
| 所属领域: | |||||
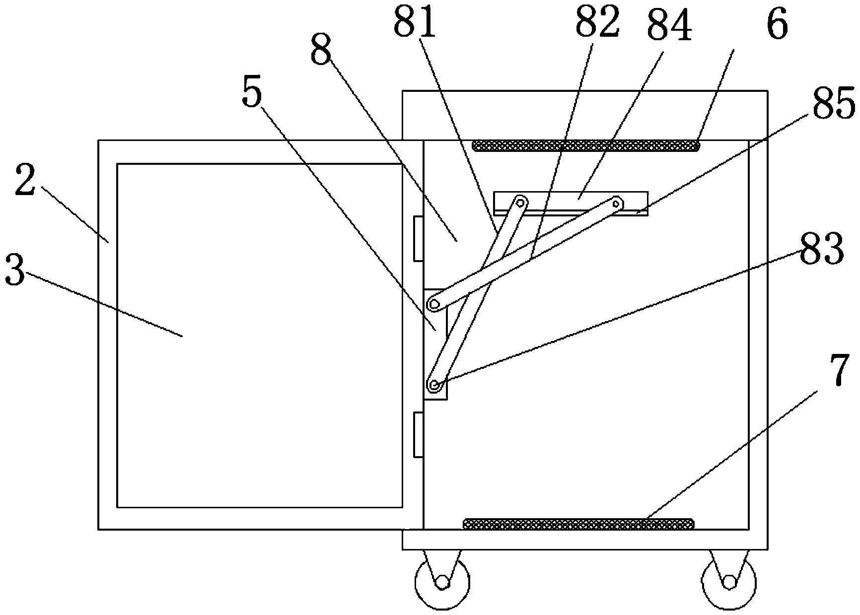
| 摘要: | 本实用新型公开了一种手术器械用消毒装置,包括箱体,所述箱体的正面转动连接有箱门,所述箱门的表面设有观察窗,所述箱体的顶部设有通风口,所述箱体的底部固定连接有万向轮,所述箱体的内壁固定连接有支撑块,所述箱体的内顶部固定连接有高温杀菌装置,所述箱体的内底部固定连接有紫外线照射灯,所述支撑块的一侧转动连接有翻转装置,所述翻转装置包括转动连接在支撑快上的连杆一和连杆二,所述连杆一的一端固定连接有驱动装置,所述驱动装置固定连接于支撑块,且驱动连杆一往复转动,所述连杆一和连杆二的另一端均转动连接有能够固定手术器械的托盘。本实用新型可实现自动循环消毒杀菌功能,节省了人力,提高了效率。 | ||||
| 补充信息 | |||||
| 转让方式: | 成熟度: | 预估价值: | |||
| 市场前景: | |||||