样品
成果详情
| 项目简介 | |||||
|---|---|---|---|---|---|
| 技术简介: | |||||
| 专利类型: | 实用新型 | 专利申请号: | CN202021327150.0 | 公开号: | CN213158420U |
| 专利权人: | 南方医科大学南方医院 | 发明设计人: | 李冰 | ||
| 所属领域: | |||||
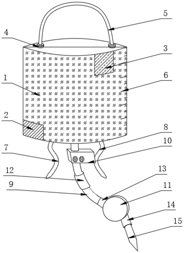
| 摘要: | 本实用新型公开了一种可视型避光输液装置,具体涉及与医疗器械技术领域,包括输液袋袋体,所述输液袋袋体的前表面底部设置有可视窗,且输液袋袋体由棕褐色避光材质制成,所述输液袋袋体的前表面顶部远离可视窗的一侧设置有标签袋,所述可视窗的表面设置有避光遮盖,所述输液袋袋体的端面设置有刻度线。本实用新型设置了绑扎绳以及弹性挂绳,实现绑扎绳的环形固定,通过弹性挂绳可对输液袋袋体进行悬挂,输液袋袋体由棕褐色避光材质制成,可避免光对输液袋袋体的直接照射,提高药物活性,设置了流速调节器以及报警器,报警器能够在输液袋余量不足时发出警报,从而及时换袋或者拔除针头,通过控制流速调节器可控制营养液的流速。 | ||||
| 补充信息 | |||||
| 转让方式: | 成熟度: | 预估价值: | |||
| 市场前景: | |||||