样品
成果详情
| 项目简介 | |||||
|---|---|---|---|---|---|
| 技术简介: | |||||
| 专利类型: | 实用新型 | 专利申请号: | CN202323139671.X | 公开号: | CN221731227U |
| 专利权人: | 南方医科大学珠江医院 | 发明设计人: | 许家齐;康高菲;刘怿峤;钱宇恒 | ||
| 所属领域: | |||||
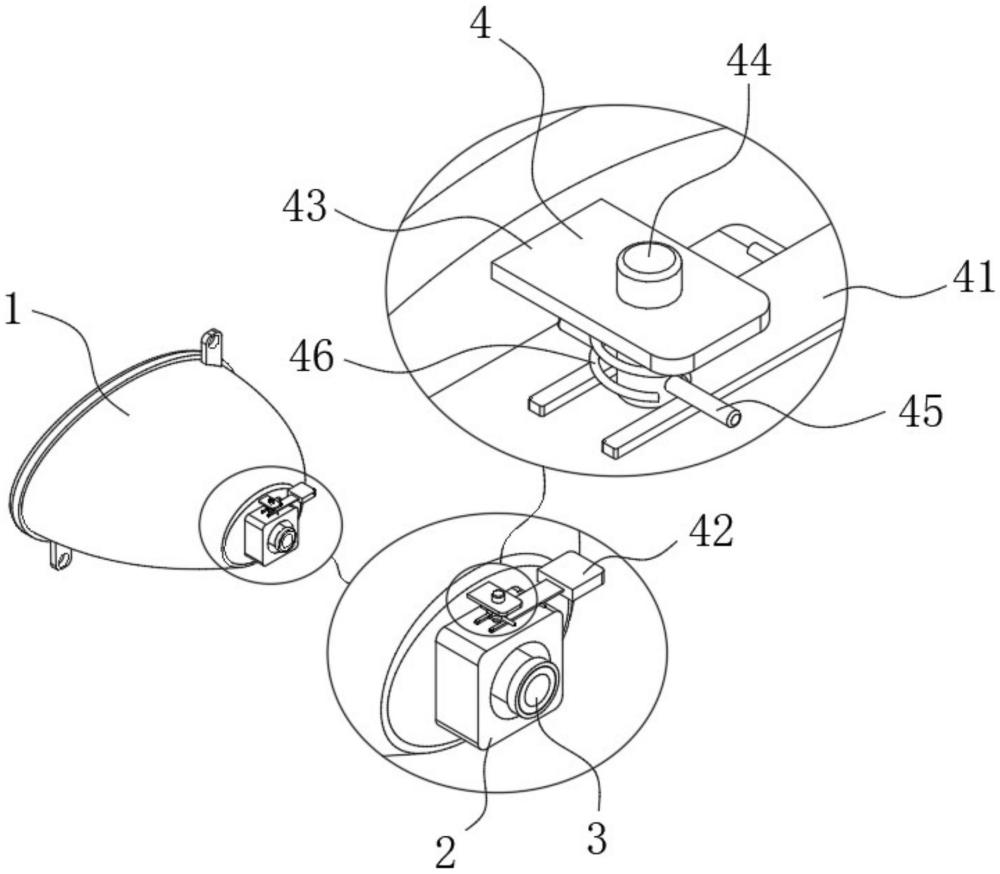
| 摘要: | 本实用新型公开了一种医用雾化器眼罩,涉及医疗器械技术领域。该医用雾化器眼罩,包括罩杯、喷药装置和卡接组件,罩杯的后侧外表面固定安装有定位套和连接嘴,连接嘴位于定位套的内部,卡接组件设置于定位套上,卡接组件包括拨片、按压片、固定片和定位杆,定位套的顶部铰接安装有拨片,拨片上固定安装有按压片,罩杯的后侧外表面固定安装有固定片。该医用雾化器眼罩,通过定位套上的卡接组件,能够将眼罩中的罩杯与喷药装置分离,以便在其使用后,单独拆卸拿去清洗消毒,且在清洗消毒时能够直接替换另外的罩杯以与喷药装置连接直接使用,减少时间浪费,提高了眼罩的实用性。 | ||||
| 补充信息 | |||||
| 转让方式: | 成熟度: | 预估价值: | |||
| 市场前景: | |||||