样品
成果详情
| 项目简介 | |||||
|---|---|---|---|---|---|
| 技术简介: | |||||
| 专利类型: | 实用新型 | 专利申请号: | CN202221536360.X | 公开号: | CN217908500U |
| 专利权人: | 南方医科大学珠江医院 | 发明设计人: | 刘素林;李菀丹 | ||
| 所属领域: | |||||
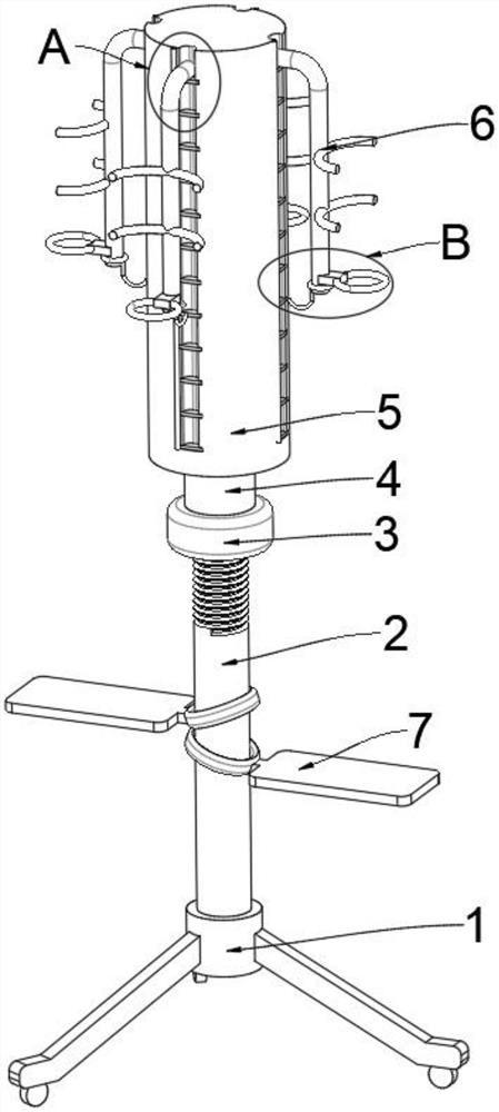
| 摘要: | 本实用新型公开了一种可调式多功能输液架,包括底座,底座的上方转动安装有螺纹杆,螺纹杆上活动套接有套管,套管的底部转动连接有与螺纹杆螺纹连接的螺纹筒,安装筒,活动套设在套管的外侧,安装筒的外侧等距均匀的设置有多个用于悬挂输液带的悬挂机构。本实用新型中可根据实际所需,通过螺纹杆、螺纹筒和套管的配合使用,便于实时调节输液架整体的高度,通过安装筒和悬挂机构对悬挂机构整体所处的位置进行高度调节,一方面使得一个调输液架,可满足两人或者两人以上进行使用,另一方面避免对肿瘤患者化疗及静脉营养治疗时,避免因输液袋大小规格不一,造成输液器Y型连接口管路反折,输液不畅的问题。 | ||||
| 补充信息 | |||||
| 转让方式: | 成熟度: | 预估价值: | |||
| 市场前景: | |||||