样品
成果详情
| 项目简介 | |||||
|---|---|---|---|---|---|
| 技术简介: | |||||
| 专利类型: | 实用新型 | 专利申请号: | CN201821791028.1 | 公开号: | CN209109224U |
| 专利权人: | 南方医科大学南方医院 | 发明设计人: | 郭萍;黄榕;黄少慧;刘映晨;蔡丽红 | ||
| 所属领域: | |||||
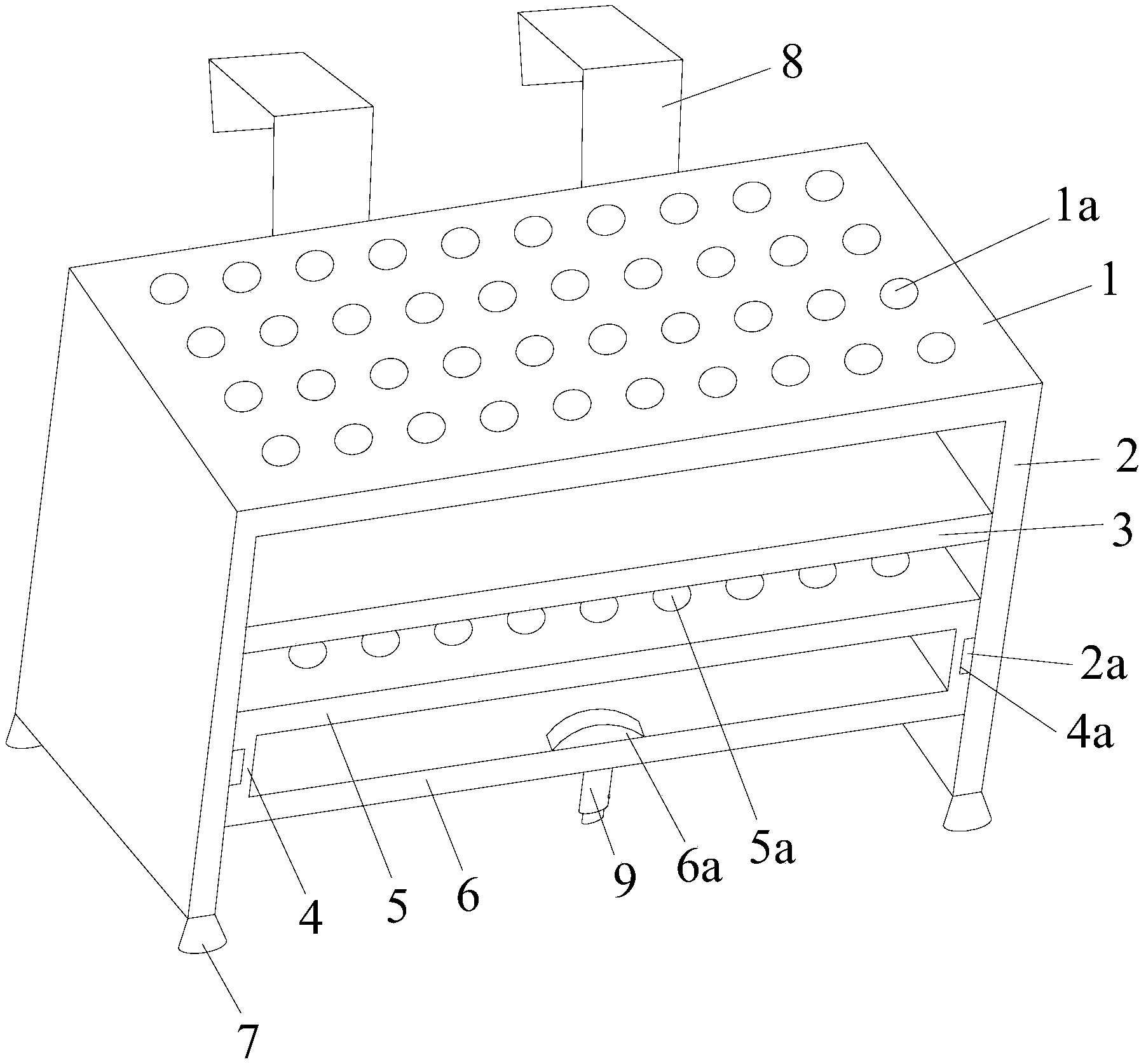
| 摘要: | 本实用新型公开了一种医用试管架,包括试管架主体,所述试管架主体包括一上横板和两竖板一,上横板上开有多个试管孔一,两竖板一垂直且一体连接在上横板的两端下侧,两竖板一的内侧面固定有位于上横板下方的上试管支撑板,在两竖板一的内侧面还装有滑轨,各滑轨上滑动安装有竖板二,两个竖板二的上端之间固定有下横板,两个竖板二的下端之间固定有位于下横板下方的下试管支撑板,下横板上开有多个试管孔二,两个竖板一的竖向高度高于两个竖板二的竖向高度,两个竖板一的下端固定有吸盘。本实用新型的医用试管架可固定在治疗车台面上,不易移动,避免标本摔碎。 | ||||
| 补充信息 | |||||
| 转让方式: | 成熟度: | 预估价值: | |||
| 市场前景: | |||||