样品
成果详情
| 项目简介 | |||||
|---|---|---|---|---|---|
| 技术简介: | |||||
| 专利类型: | 实用新型 | 专利申请号: | CN202420573454.7 | 公开号: | CN222444818U |
| 专利权人: | 南方医科大学珠江医院 | 发明设计人: | 梁玉洁 | ||
| 所属领域: | |||||
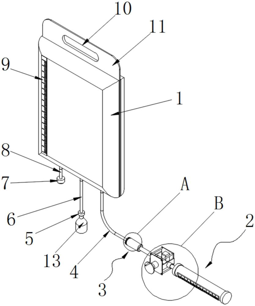
| 摘要: | 本实用新型公开了一种儿童用静脉营养置换液配置装置,包括配置袋,所述配置袋底部一侧安装有第一输液管,且第一输液管与配置袋内部连通,第一输液管一端安装有密封机构,本实用新型通过密闭排液机构的安装,通过将多余的药液排放到排液量筒中,排液量筒与配置袋上均安装有刻度尺,有利于根据儿童的用药量进行准确的排液,无需多次穿刺抽取,避免了交叉污染的情况出现,提升了设备使用的安全性,并且通过密封机构中的密封膜的安装,提升了配置液的密封,避免了泄露的情况出现,同时利用密闭排液机构中的活动密闭块和固定密闭块的压接固定,有利于保证了排液后的压紧密封,有效的避免了药液回流的情况出现。 | ||||
| 补充信息 | |||||
| 转让方式: | 成熟度: | 预估价值: | |||
| 市场前景: | |||||